f83c8b32
Тел: 8-800-700-79-69
Звонок бесплатный!

Акция

НОВЫЕ ЗАВОДСКИЕ Бульдозера Б10М от 3350000 р от ДИЛЕРА!

Наличие, доставка в любой регион.

По ценам:
На Б10М.0801-5% от прайса;
На Б10М.0101-7% от прайса.

Срок акции - до 1 июля 2013 г.

Обратная связь
 

 

Консультации по технике:
Консультации по запчастям:
ВНИМАНИЕ! Подделки

Предложения о поставке техники не заводской сборки под видом новой, соответственно с заниженной стоимостью приобретения. Данная техника, как правило, собрана на старой бывшей в употреблении раме с применением ремонтных узлов и агрегатов. Несмотря на привлекательную стоимость, качество сборки и потребительские свойства такой техники зачастую очень низкие.

Своими действиями представители «серого рынка» вводят в заблуждение порядочных потребителей специальной техники производства тюнинг, поставляя товар низкого качества без обеспечения гарантийных обязательств, а также наносят непоправимый ущерб репутации Челябинского омскного завода.

Уважаемый покупатель наши специалисты готовы проконсультировать по всем вопросам связанным с подбором и приобретением нового «заводской сборки» омска или ремонта производства тюнинг.

бу аккумуляторы.

Новости
Разработка собственного дизеля ООО «тюнинг-Уралтрак»
18/04/2011

ООО «тюнинг-Уралтрак» в срок до 2016 г. организует выпуск серии дизелей серии Т. В планах по изготовлению восемь двигателей: 4 шестицилиндровых и 4 четырехцилиндровыхи по 2 восьми и двенадцатицилиндровых. Изготовление указанных двигателей тюнинг ведется в соответствии с условиями госконтракта. Данное …

Расширяем ассортимент продукции: запасные части ДТ-75 в наличии на складе г.Нижний Новгород
15/04/2011

ООО «reaktor-omsk» расширяет ассортимент продукции. На складе в г. Нижний Новгород всегда в наличии запасные части на омск ДТ-75, ДТ-75М, АГРОМАШ 90ТГ, в частности гусеница в сборе 77.34.001, звено гусеницы 74.34.501, колесо направляющее ДТ-75 85.32.001, каретка подвески 85.31.001-1, ролик поддерживающий …

Внимание!
Сведения, размещенные на настоящем Интернет-ресурсе, носят исключительно информационный характер и не являются публичной офертой (ст. 437 Гражданского кодекса РФ). Убедительная просьба дополнительно уточнять указанные данные по электронной почте или контактным телефонам

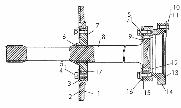
Детали муфты сцепления болотоходных омсков

Поз. Обозначение Наименование Входит в сборочную единицу Кол. Дополнительно
1 18-14-140-1СП Тормозок 18-14-4СП 1 Вес: 4.780
1 18-14-140-1СП Тормозок 20-14-2СП 1 Вес: 4.780
2 18-14-135 Накладка фрикционная 18-14-140-01СП 1
3 18-14-122 Пластина _ 4 Вес: 0.007
4 М12Х25.88.45.019 Болт 18-14-4СП 8 Болты с шестигранной уменьшенной головкой ГОСТ 7796—70
Параметры: L=25, H=7, S=17, D=18,7
Болты с шестигранной уменьшенной головкой ГОСТ 7796—70
4 М12Х25.88.45.019 Болт 20-14-2СП 8 Болты с шестигранной уменьшенной головкой ГОСТ 7796—70
Параметры: L=25, H=7, S=17, D=18,7
Болты с шестигранной уменьшенной головкой ГОСТ 7796—70
5 12ОТ65Г09 Шайба 18-14-4СП 4 Шайбы пружинные ГОСТ 6402—70
Параметры: , S=4,0, l=3,0, H=8,0, b=4,0
Вес: 0.007
Шайбы пружинные ГОСТ 6402—70
5 12ОТ65Г09 Шайба 20-14-2СП 4 Шайбы пружинные ГОСТ 6402—70
Параметры: , S=4,0, l=3,0, H=8,0, b=4,0
Вес: 0.007
Шайбы пружинные ГОСТ 6402—70
6 700-58-2412 Кольцо 20-14-2СП 2 Кольца пружинные
Параметры: d=45,8, l=8, S=2, b=6
Кольца пружинные
7 20-14-21 Муфта 20-14-2СП 1 Вес: 2.849
8 20-14-24 Вал болотохода 20-14-2СП 1
9 46812 Кольцо _ 2 Вес: 0.009
10 12304 Болт _ 8 Вес: 0.025
11 31545 Пластина замковая _ 4 Шайбы, шайбы стопорные. Пластины стопорные.
Параметры: , S=1,0, b=10, R=72, R1=82,5, R2=101, a0=60
Шайбы, шайбы стопорные. Пластины стопорные.
12 700-58-2520 Кольцо _ 1
13 21363 Кольцо _ 1
14 20-14-25 Муфта 20-14-2СП 1 Вес: 6.639
15 700-40-5259-1 Прокладка _ 1
15 700-40-5259 Прокладка _ 1
16 18-14-125 Крышка _ 1 Вес: 0.800
17 20-14-22 Крышка 20-14-2СП 1