f83c8b32
Тел: 8-800-700-79-69
Звонок бесплатный!

Акция

НОВЫЕ ЗАВОДСКИЕ Бульдозера Б10М от 3350000 р от ДИЛЕРА!

Наличие, доставка в любой регион.

По ценам:
На Б10М.0801-5% от прайса;
На Б10М.0101-7% от прайса.

Срок акции - до 1 июля 2013 г.

Обратная связь
 

 

Консультации по технике:
Консультации по запчастям:
ВНИМАНИЕ! Подделки

Предложения о поставке техники не заводской сборки под видом новой, соответственно с заниженной стоимостью приобретения. Данная техника, как правило, собрана на старой бывшей в употреблении раме с применением ремонтных узлов и агрегатов. Несмотря на привлекательную стоимость, качество сборки и потребительские свойства такой техники зачастую очень низкие.

Своими действиями представители «серого рынка» вводят в заблуждение порядочных потребителей специальной техники производства тюнинг, поставляя товар низкого качества без обеспечения гарантийных обязательств, а также наносят непоправимый ущерб репутации Челябинского омскного завода.

Уважаемый покупатель наши специалисты готовы проконсультировать по всем вопросам связанным с подбором и приобретением нового «заводской сборки» омска или ремонта производства тюнинг.

бу аккумуляторы.

Новости
Разработка собственного дизеля ООО «тюнинг-Уралтрак»
18/04/2011

ООО «тюнинг-Уралтрак» в срок до 2016 г. организует выпуск серии дизелей серии Т. В планах по изготовлению восемь двигателей: 4 шестицилиндровых и 4 четырехцилиндровыхи по 2 восьми и двенадцатицилиндровых. Изготовление указанных двигателей тюнинг ведется в соответствии с условиями госконтракта. Данное …

Расширяем ассортимент продукции: запасные части ДТ-75 в наличии на складе г.Нижний Новгород
15/04/2011

ООО «reaktor-omsk» расширяет ассортимент продукции. На складе в г. Нижний Новгород всегда в наличии запасные части на омск ДТ-75, ДТ-75М, АГРОМАШ 90ТГ, в частности гусеница в сборе 77.34.001, звено гусеницы 74.34.501, колесо направляющее ДТ-75 85.32.001, каретка подвески 85.31.001-1, ролик поддерживающий …

Внимание!
Сведения, размещенные на настоящем Интернет-ресурсе, носят исключительно информационный характер и не являются публичной офертой (ст. 437 Гражданского кодекса РФ). Убедительная просьба дополнительно уточнять указанные данные по электронной почте или контактным телефонам

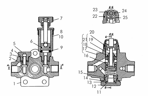
Детали топливоподкачивающего насоса

Поз. Обозначение Наименование Входит в сборочную единицу Кол. Дополнительно
- 51-71-4СП Насос топливоподкачивающий 51-67-9СП 1 Вес: 1.159
- 16-С35-3Б Топливоподкачивающий насос _ 1
- 16-126-3 Поршень _ 1
- 16-127Б Пружина _ 1
- 16-149 Кольцо 16-С35-3Б 1
- 16-133-2 Стержень 16-C64A 1
- 16-120-A Толкатель _ 1
- 16-270 Шайба _ 1
- 16-C65-1A Корпус _ 1
- 16-225A Упор _ 1
- 16-124-1А Пружина _ 2
- 16-062 Прокладка _ 2
- 16-230-1A Втулка 16-C64A 1
- 16-130 Ролик _ 1
- 16-120-8 Корпус _ 1
- 16-C64A Втулка со стержнем 16-C65-1A 1
- 16-123-3A Клапан _ 2
- 51-71-36 Корпус 16-C65-1A 1
- 16-125-3А Пробка _ 1
- 16-229 Кольцо 16-C65-1A 1
- 15-C39-1 Шток 16-С35-3Б 1
- 16-145-1 Прокладка _ 1
- 16-240 Кольцо 016-020-25-1-2 / 016-020-25-1-3 _ 1
- 16-C30-8B-T Топливоподкачивающи и насос в сборе _ 1
- 16-139-6A Цилиндр 16-С35-3Б 1
- 16-131-1 Ось _ 1
- 16-128-2 Пробка _ 1
1 51-71-113СП Корпус _ 1
2 700-38-2867 Пружина _ 2
3 40911 Кольцо _ 2 Вес: 0.002
4 51-71-17 Клапан _ 2
5 700-37-2277 Пробка _ 1
6 700-40-3771 Кольцо _ 1 Вес: 0.003
7 51-71-109СП Шток 51-71-108СП 1
8 51-71-15 Цилиндр 51-71-108СП 1
9 40915 Кольцо уплотнительное 51-71-108СП 1 Вес: 0.004
10 51-71-108СП Топливоподкачивающий насос _ 1
11 51-71-18 Упор _ 1
12 700-37-2276 Пробка _ 1
13 700-31-2686 Шайба _ 1
14 51-71-24 Прокладка _ 1
15 700-38-2869 Пружина _ 1
16 51-71-37 Поршень _ 1
17 51-71-35 Корпус 5171111СП 1
18 700-58-2583 Кольцо 5171107СП 1
19 51-71-9 Втулка 51-71-106СП 1
20 51-71-11 Стержень 51-71-106СП 1
21 51-71-106СП Втулка со стержнем 5171107СП 1
22 700-58-2582 Кольцо _ 1
23 51-71-27 Ролик _ 1
24 51-71-32 Ось _ 1
25 51-71-31 Толкатель _ 1