f83c8b32
Тел: 8-800-700-79-69
Звонок бесплатный!

Акция

НОВЫЕ ЗАВОДСКИЕ Бульдозера Б10М от 3350000 р от ДИЛЕРА!

Наличие, доставка в любой регион.

По ценам:
На Б10М.0801-5% от прайса;
На Б10М.0101-7% от прайса.

Срок акции - до 1 июля 2013 г.

Обратная связь
 

 

Консультации по технике:
Консультации по запчастям:
ВНИМАНИЕ! Подделки

Предложения о поставке техники не заводской сборки под видом новой, соответственно с заниженной стоимостью приобретения. Данная техника, как правило, собрана на старой бывшей в употреблении раме с применением ремонтных узлов и агрегатов. Несмотря на привлекательную стоимость, качество сборки и потребительские свойства такой техники зачастую очень низкие.

Своими действиями представители «серого рынка» вводят в заблуждение порядочных потребителей специальной техники производства тюнинг, поставляя товар низкого качества без обеспечения гарантийных обязательств, а также наносят непоправимый ущерб репутации Челябинского омскного завода.

Уважаемый покупатель наши специалисты готовы проконсультировать по всем вопросам связанным с подбором и приобретением нового «заводской сборки» омска или ремонта производства тюнинг.

бу аккумуляторы.

Новости
Разработка собственного дизеля ООО «тюнинг-Уралтрак»
18/04/2011

ООО «тюнинг-Уралтрак» в срок до 2016 г. организует выпуск серии дизелей серии Т. В планах по изготовлению восемь двигателей: 4 шестицилиндровых и 4 четырехцилиндровыхи по 2 восьми и двенадцатицилиндровых. Изготовление указанных двигателей тюнинг ведется в соответствии с условиями госконтракта. Данное …

Расширяем ассортимент продукции: запасные части ДТ-75 в наличии на складе г.Нижний Новгород
15/04/2011

ООО «reaktor-omsk» расширяет ассортимент продукции. На складе в г. Нижний Новгород всегда в наличии запасные части на омск ДТ-75, ДТ-75М, АГРОМАШ 90ТГ, в частности гусеница в сборе 77.34.001, звено гусеницы 74.34.501, колесо направляющее ДТ-75 85.32.001, каретка подвески 85.31.001-1, ролик поддерживающий …

Внимание!
Сведения, размещенные на настоящем Интернет-ресурсе, носят исключительно информационный характер и не являются публичной офертой (ст. 437 Гражданского кодекса РФ). Убедительная просьба дополнительно уточнять указанные данные по электронной почте или контактным телефонам

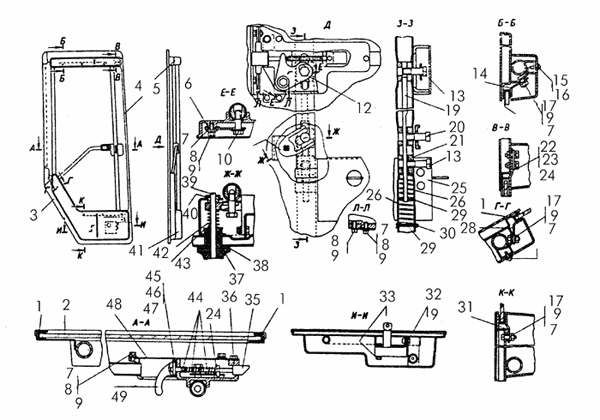
Дверь

Поз. Обозначение Наименование Входит в сборочную единицу Кол. Дополнительно
- 50-59-
707СП
Дверь 50-59-24СП 1 Вес: 20.000
- 50-59-708-01СП Дверь 50-59-707-01СП 1
- 50-59-708СП Дверь 50-59-707СП 1
- 700-42-2689 Панель 50-59-707-01СП 1 Вес: 0.899
- 50-59-
1439-01СП
Стойка 50-59-707-01СП 1
- М6-6gХ20.
58.019
Болт М6-6gх20.58.019 _ 2
- 700-40-5228 Накладка _ 1
- 50-59-
707-01СП
Дверь 50-59-24СП 1 Вес: 24.000
1 700-40-8869-06 Уплотнитель _ 1
1 700-40-8869-07 Уплотнитель _ 1
1 700-40-8869-06 Уплотнитель _ 1
1 700-40-8869-07 Уплотнитель _ 1
1 700-40-8869-06 Уплотнитель _ 1
1 700-40-8869-07 Уплотнитель _ 1
1 700-40-8869-06 Уплотнитель _ 1
1 700-40-8869-07 Уплотнитель _ 1
2 50-59-860 Стекло _ 1 Вес: 5.500
4 50-59-1439 Стойка 50-59-707СП 1
5 700-42-2687 Панель _ 1 Вес: 0.300
6 700-31-2204 Шайба 50-59-707СП 1 Шайбы, шайбы стопорные. Пластины стопорные.
Параметры: D=27, S=1,0
Шайбы, шайбы стопорные. Пластины стопорные.
7 6.02.3КП.019 Шайба 50-59-707-01СП 10 Шайбы, шайбы стопорные. Пластины стопорные.
Параметры: D=12,5, S=1,6
Шайбы,              шайбы стопорные. Пластины стопорные.
7 6.02.3КП.019 Шайба 50-59-707СП 11 Шайбы, шайбы стопорные. Пластины стопорные.
Параметры: D=12,5, S=1,6
Шайбы,              шайбы стопорные. Пластины стопорные.
8 М6Х12.58.019 Болт _ 4 Болты с шестигранной головкой ГОСТ 7798—70
Параметры: L=12, H=4, S=10, D=10,9
Болты с шестигранной головкой ГОСТ 7798—70
9 6Т65Г09 Шайба 50-59-707СП 21 Шайбы пружинные ГОСТ 6402—70
Параметры: , S=2, l=1,5, H=4, b=2
Шайбы пружинные ГОСТ 6402—70
9 6Т65Г09 Шайба 50-59-707-01СП 16 Шайбы пружинные ГОСТ 6402—70
Параметры: , S=2, l=1,5, H=4, b=2
Шайбы              пружинные ГОСТ 6402—70
10 31308-1 Шайба 50-59-707СП 1 Шайбы, шайбы стопорные. Пластины стопорные.
Параметры: D=21, S=2
Шайбы,              шайбы стопорные. Пластины стопорные.
11 50-59-1385 Рычаг 50-59-707СП 1
12 50-59-1436 Рычаг _ 1
13 28452 Болт 50-59-707СП 2 Болты нестандартные
Параметры: L=40, l0=20, H=7, h=0,5, S=14, D=15,2
Болты нестандартные
14 50-59-1437 Накладка _ 1
15 700-31-2353 Шайба _ 1 Шайбы, шайбы стопорные. Пластины стопорные.
Параметры: D=12, S=1,5
Шайбы,              шайбы стопорные. Пластины стопорные.
16 700-35-2007 Шуруп _ 1 Винты нестандартные
Параметры: l=16, H=2,8, b=1, h=1,8, d=4, d0=2,8, D=8
Винты нестандартные
17 М6Х6.019 Гайка М6Х6.019 _ 11 Гайки шестигранные ГОСТ 5927—70
Параметры: H=5, S=10, D=11
Вес: 0.007
Гайки шестигранные ГОСТ 5927—70
19 50-59-
557-01СП
Штанга 50-59-707СП 1
20 700-28-2483 Болт 50-59-707СП 1
21 50-59-1117 Направляющая 50-59-707СП 1
22 М8Х16.58.019 Болт _ 4 Болты с шестигранной уменьшенной головкой ГОСТ 7796—70
Параметры: L=16, H=5, S=12, D=13,1
Болты с шестигранной уменьшенной головкой ГОСТ 7796—70
23 8Т65Г09 Шайба _ 4 Шайбы пружинные ГОСТ 6402—70
Параметры: , S=2,5, l=1,9, H=5, b=2,5
Шайбы              пружинные ГОСТ 6402—70
24 31386 Шайба _ 6 Шайбы, шайбы стопорные. Пластины стопорные.
Параметры: D=17,5, S=1,6
Вес: 0.002
Шайбы,              шайбы стопорные. Пластины стопорные.
25 50-59-567СП Механизм запирающий 50-59-707СП 1
26 38356 Пружина 50-59-707СП 2 Пружины
Параметры: D=22,5, d=1,8, к-во вит=7,5
Пружины
28 50-59-1433 Накладка _ 1
29 3135-1 Шайба 50-59-707СП 2 Шайбы, шайбы стопорные. Пластины стопорные.
Параметры: D=24, S=2
Шайбы,              шайбы стопорные. Пластины стопорные.
30 3,3Х40 Шплинт 3,3х40 50-59-707СП 1
31 50-59-1438 Накладка _ 1
32 М6Х16.58.019 Болт 50-59-707СП 2 Болты с шестигранной головкой ГОСТ 7798—70
Параметры: L=16, H=4, S=10, D=10,9
Болты с              шестигранной головкой ГОСТ 7798—70
33 М6Х35.58.019 Болт М6х35.
58.019
50-59-707СП 2
35 50-59-515СП Защелка _ 1
36 50-59-1461 Накладка _ 1
37 50-59-537СП Ручка 50-59-707СП 1
38 50-59-1147 Шайба 50-59-707СП 1
39 3,2Х18 Шплинт 50-59-707СП 1 Шплинты
Параметры: l=18, D=5,8, l1=6,4, l2=3,2
Шплинты
40 50-59-1386 Втулка 50-59-707СП 1
41 700-42-2688 Панель 50-59-707СП 1 Вес: 0.899
42 700-38-2659 Пружина 50-59-707СП 1 Вес: 0.004
43 50-59-987-01 Подкладка 50-59-707СП 1
44 950.41.176 Пружина _ 3
45 В.М3-6gХ25.
58.019
Винт В.МЗ-6gх25.
58.019
_ 1
46 М3Х6.019 Гайка М3Х6.019 _ 1 Гайки шестигранные ГОСТ 5927—70
Параметры: H=2,4, S=5,5, D=6
Гайки шестигранные ГОСТ 5927—70
47 3Т65Г09 Шайба 3Т 65Г 09 _ 1
48 50-59-1441 Крышка _ 1
49 50-59-1457 Рукоятка _ 1