f83c8b32 Холстопрошивное полотно купить источник.
Смотрите http://www.server-world.ru tesla M60.
Тел: 8-800-700-79-69
Звонок бесплатный!

Акция

НОВЫЕ ЗАВОДСКИЕ Бульдозера Б10М от 3350000 р от ДИЛЕРА!

Наличие, доставка в любой регион.

По ценам:
На Б10М.0801-5% от прайса;
На Б10М.0101-7% от прайса.

Срок акции - до 1 июля 2013 г.

Обратная связь
 

 

Консультации по технике:
Консультации по запчастям:
ВНИМАНИЕ! Подделки

Предложения о поставке техники не заводской сборки под видом новой, соответственно с заниженной стоимостью приобретения. Данная техника, как правило, собрана на старой бывшей в употреблении раме с применением ремонтных узлов и агрегатов. Несмотря на привлекательную стоимость, качество сборки и потребительские свойства такой техники зачастую очень низкие.

Своими действиями представители «серого рынка» вводят в заблуждение порядочных потребителей специальной техники производства тюнинг, поставляя товар низкого качества без обеспечения гарантийных обязательств, а также наносят непоправимый ущерб репутации Челябинского омскного завода.

Уважаемый покупатель наши специалисты готовы проконсультировать по всем вопросам связанным с подбором и приобретением нового «заводской сборки» омска или ремонта производства тюнинг.

бу аккумуляторы.

Новости
Разработка собственного дизеля ООО «тюнинг-Уралтрак»
18/04/2011

ООО «тюнинг-Уралтрак» в срок до 2016 г. организует выпуск серии дизелей серии Т. В планах по изготовлению восемь двигателей: 4 шестицилиндровых и 4 четырехцилиндровыхи по 2 восьми и двенадцатицилиндровых. Изготовление указанных двигателей тюнинг ведется в соответствии с условиями госконтракта. Данное …

Расширяем ассортимент продукции: запасные части ДТ-75 в наличии на складе г.Нижний Новгород
15/04/2011

ООО «reaktor-omsk» расширяет ассортимент продукции. На складе в г. Нижний Новгород всегда в наличии запасные части на омск ДТ-75, ДТ-75М, АГРОМАШ 90ТГ, в частности гусеница в сборе 77.34.001, звено гусеницы 74.34.501, колесо направляющее ДТ-75 85.32.001, каретка подвески 85.31.001-1, ролик поддерживающий …

Внимание!
Сведения, размещенные на настоящем Интернет-ресурсе, носят исключительно информационный характер и не являются публичной офертой (ст. 437 Гражданского кодекса РФ). Убедительная просьба дополнительно уточнять указанные данные по электронной почте или контактным телефонам

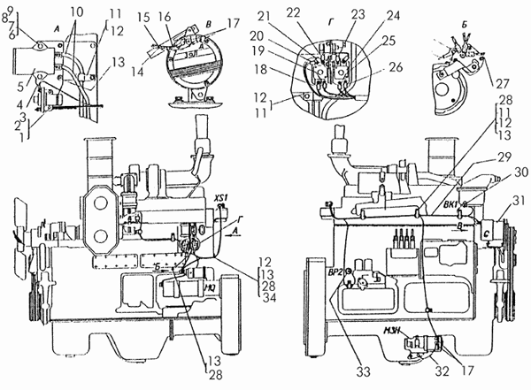
Электрооборудование дизеля с электростартерной системой пуска

Поз. Обозначение Наименование Входит в сборочную единицу Кол. Дополнительно
- 50-10-641СП Электрооборудование дизеля 50-10-22СП 1
- ПС315-100-Т Розетка _ 2
- ПС315-100-Э Розетка _ 2
- КТ127-Т Контактор _ 2
- ТМ100-ВТ Датчик указателя температуры для тропиков _ 1
1 М6Х12.58.019 Болт _ 2 Болты с шестигранной головкой ГОСТ 7798—70
Параметры: L=12, H=4, S=10, D=10,9
Болты с шестигранной головкой ГОСТ 7798—70
2 М6Х6.019 Гайка М6Х6.019 _ 2 Гайки шестигранные ГОСТ 5927—70
Параметры: H=5, S=10, D=11
Вес: 0.007
Гайки шестигранные ГОСТ 5927—70
3 6Т65Г09 Шайба _ 2 Шайбы пружинные ГОСТ 6402—70
Параметры: , S=2, l=1,5, H=4, b=2
Шайбы пружинные ГОСТ 6402—70
4 50-10-136 Панель _ 1
5 ПС315-100 Розетка ПС 315-100 _ 2
6 М8-
6gХ50.58.019
Болт М8-6дх 50.58.019 _ 2
7 М8Х6.019 Гайка М8Х6.019 _ 2 Гайки шестигранные ГОСТ 5915—70
Параметры: H=6,5, S=13, D=14,2
Гайки шестигранные ГОСТ 5915—70
8 8Т65Г09 Шайба _ 2 Шайбы пружинные ГОСТ 6402—70
Параметры: , S=2,5, l=1,9, H=5, b=2,5
Шайбы пружинные ГОСТ 6402—70
9 31386 Шайба _ 2 Шайбы, шайбы стопорные. Пластины стопорные.
Параметры: D=17,5, S=1,6
Вес: 0.002
Шайбы, шайбы стопорные. Пластины стопорные.
10 50-10-282СП Провод 92 _ 2
11 41627 Хомут _ 10 Вес: 0.012
12 700-40-2654 Прокладка _ 11
13 31308-1 Шайба _ 4 Шайбы, шайбы стопорные. Пластины стопорные.
Параметры: D=21, S=2
Шайбы, шайбы стопорные. Пластины стопорные.
14 Провод10 Провод 10 50-10-648СП 1
15 Провод17 Провод 17 50-10-648СП 1
16 Провод171 Провод 171 50-10-648СП 1
17 700-40-6285 Наконечник _ 5 Вес: 0.001
18 Провод21 Провод 21 50-10-648СП 1
19 Провод26 Провод 26 50-10-648СП 1
20 Провод24 Провод 24 50-10-648СП 1
21 Провод28 Провод 28 50-10-648СП 1
22 50-10-370СП Провод 44 _ 1
23 50-10-258СП Провод 23 _ 1
24 КТ127-У Контактор _ 2
25 Провод146 Провод 146 50-10-648СП 1
26 Провод49 Провод 49 50-10-648СП 1
27 Провод22 Провод 22 50-10-648СП 1
28 М10Х20.58.019 Болт _ 3 Болты с шестигранной уменьшенной головкой ГОСТ 7796—70
Параметры: L=20, H=6, S=14, D=15,3
Болты с шестигранной уменьшенной головкой ГОСТ 7796—70
29 50-10-648СП Жгут 22 _ 1
30 ТМ100-В Датчик указателя температуры ТМ 100-В _ 1
31 50-10-374СП Установка генератора _ 1
32 50-10-283СП Провод 99 _ 1
33 ММ358-УТ Датчик указателя давления ММ 358-УТ _ 1
34 700-41-2943 Хомут _ 1 Вес: 0.008