f83c8b32
Тел: 8-800-700-79-69
Звонок бесплатный!

Акция

НОВЫЕ ЗАВОДСКИЕ Бульдозера Б10М от 3350000 р от ДИЛЕРА!

Наличие, доставка в любой регион.

По ценам:
На Б10М.0801-5% от прайса;
На Б10М.0101-7% от прайса.

Срок акции - до 1 июля 2013 г.

Обратная связь
 

 

Консультации по технике:
Консультации по запчастям:
ВНИМАНИЕ! Подделки

Предложения о поставке техники не заводской сборки под видом новой, соответственно с заниженной стоимостью приобретения. Данная техника, как правило, собрана на старой бывшей в употреблении раме с применением ремонтных узлов и агрегатов. Несмотря на привлекательную стоимость, качество сборки и потребительские свойства такой техники зачастую очень низкие.

Своими действиями представители «серого рынка» вводят в заблуждение порядочных потребителей специальной техники производства тюнинг, поставляя товар низкого качества без обеспечения гарантийных обязательств, а также наносят непоправимый ущерб репутации Челябинского омскного завода.

Уважаемый покупатель наши специалисты готовы проконсультировать по всем вопросам связанным с подбором и приобретением нового «заводской сборки» омска или ремонта производства тюнинг.

бу аккумуляторы.

Новости
Разработка собственного дизеля ООО «тюнинг-Уралтрак»
18/04/2011

ООО «тюнинг-Уралтрак» в срок до 2016 г. организует выпуск серии дизелей серии Т. В планах по изготовлению восемь двигателей: 4 шестицилиндровых и 4 четырехцилиндровыхи по 2 восьми и двенадцатицилиндровых. Изготовление указанных двигателей тюнинг ведется в соответствии с условиями госконтракта. Данное …

Расширяем ассортимент продукции: запасные части ДТ-75 в наличии на складе г.Нижний Новгород
15/04/2011

ООО «reaktor-omsk» расширяет ассортимент продукции. На складе в г. Нижний Новгород всегда в наличии запасные части на омск ДТ-75, ДТ-75М, АГРОМАШ 90ТГ, в частности гусеница в сборе 77.34.001, звено гусеницы 74.34.501, колесо направляющее ДТ-75 85.32.001, каретка подвески 85.31.001-1, ролик поддерживающий …

Внимание!
Сведения, размещенные на настоящем Интернет-ресурсе, носят исключительно информационный характер и не являются публичной офертой (ст. 437 Гражданского кодекса РФ). Убедительная просьба дополнительно уточнять указанные данные по электронной почте или контактным телефонам

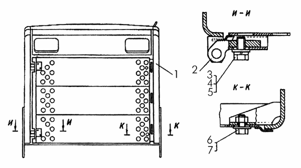
Капот (продолжение)

Поз. Обозначение Наименование Входит в сборочную единицу Кол. Дополнительно
- М14Х1,5Х35.58.019 Болт 50-55-27-02СП 4 Болты с шестигранной уменьшенной головкой ГОСТ 7796—70
Параметры: L=35, H=8, S=19, D=20,9
Болты с шестигранной уменьшенной головкой ГОСТ 7796—70
- 31372 Шайба 50-55-27СП 4 Шайбы, шайбы стопорные. Пластины стопорные.
Параметры: D=36, S=3,0
Шайбы, шайбы стопорные. Пластины стопорные.
1 50-55-366СП Решетка 50-55-27-02СП 1
2 50-55-130 Шарнир 50-55-27-02СП 2
4 14ОТ65Г09 Шайба 50-55-27-02СП 4 Шайбы пружинные ГОСТ 6402—70
Параметры: , S=4,5, l=3,4, H=9, b=4,5
Шайбы пружинные ГОСТ 6402—70
5 31434-01 Шайба 50-55-27-02СП 4
7 31372 Шайба 50-55-27-03СП 8 Шайбы, шайбы стопорные. Пластины стопорные.
Параметры: D=36, S=3,0
Шайбы,              шайбы стопорные. Пластины стопорные.
7 31372 Шайба 50-55-
27-02СП
4 Шайбы, шайбы стопорные. Пластины стопорные.
Параметры: D=36, S=3,0
Шайбы,              шайбы стопорные. Пластины стопорные.
7 31372 Шайба 50-55-27-01СП 4 Шайбы, шайбы стопорные. Пластины стопорные.
Параметры: D=36, S=3,0
Шайбы,              шайбы стопорные. Пластины стопорные.