f83c8b32
Тел: 8-800-700-79-69
Звонок бесплатный!

Акция

НОВЫЕ ЗАВОДСКИЕ Бульдозера Б10М от 3350000 р от ДИЛЕРА!

Наличие, доставка в любой регион.

По ценам:
На Б10М.0801-5% от прайса;
На Б10М.0101-7% от прайса.

Срок акции - до 1 июля 2013 г.

Обратная связь
 

 

Консультации по технике:
Консультации по запчастям:
ВНИМАНИЕ! Подделки

Предложения о поставке техники не заводской сборки под видом новой, соответственно с заниженной стоимостью приобретения. Данная техника, как правило, собрана на старой бывшей в употреблении раме с применением ремонтных узлов и агрегатов. Несмотря на привлекательную стоимость, качество сборки и потребительские свойства такой техники зачастую очень низкие.

Своими действиями представители «серого рынка» вводят в заблуждение порядочных потребителей специальной техники производства тюнинг, поставляя товар низкого качества без обеспечения гарантийных обязательств, а также наносят непоправимый ущерб репутации Челябинского омскного завода.

Уважаемый покупатель наши специалисты готовы проконсультировать по всем вопросам связанным с подбором и приобретением нового «заводской сборки» омска или ремонта производства тюнинг.

бу аккумуляторы.

Новости
Разработка собственного дизеля ООО «тюнинг-Уралтрак»
18/04/2011

ООО «тюнинг-Уралтрак» в срок до 2016 г. организует выпуск серии дизелей серии Т. В планах по изготовлению восемь двигателей: 4 шестицилиндровых и 4 четырехцилиндровыхи по 2 восьми и двенадцатицилиндровых. Изготовление указанных двигателей тюнинг ведется в соответствии с условиями госконтракта. Данное …

Расширяем ассортимент продукции: запасные части ДТ-75 в наличии на складе г.Нижний Новгород
15/04/2011

ООО «reaktor-omsk» расширяет ассортимент продукции. На складе в г. Нижний Новгород всегда в наличии запасные части на омск ДТ-75, ДТ-75М, АГРОМАШ 90ТГ, в частности гусеница в сборе 77.34.001, звено гусеницы 74.34.501, колесо направляющее ДТ-75 85.32.001, каретка подвески 85.31.001-1, ролик поддерживающий …

Внимание!
Сведения, размещенные на настоящем Интернет-ресурсе, носят исключительно информационный характер и не являются публичной офертой (ст. 437 Гражданского кодекса РФ). Убедительная просьба дополнительно уточнять указанные данные по электронной почте или контактным телефонам

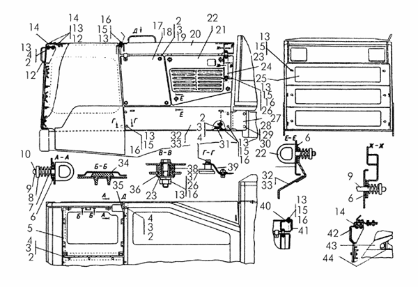
Капот

Поз. Обозначение Наименование Входит в сборочную единицу Кол. Дополнительно
- 50-55-27СП Капот _ 1
- 50-55-367 Крышка _ 1 Вес: 1.299
- 50-55-27-03СП Капот для омсков, комплектуемых гидромеха-
нической трансмиссией и электро-
стартерным пуском дизеля
_ 1
- 50-55-27-02СП Капот для омсков двойного назначения _ 1
- 50-55-27-01СП Капот для омсков, комплектуемых экскаваторным оборудованием _ 1
2 М10Х25.58.019 Болт _ 32 Болты с шестигранной уменьшенной головкой ГОСТ 7796—70
Параметры: L=25, H=6, S=14, D=15,3
Болты с шестигранной уменьшенной головкой ГОСТ 7796—70
3 10ОТ65Г09 Шайба _ 332 Шайбы пружинные ГОСТ 6402—70
Параметры: , S=3,5, l=2,5, H=7, b=3,5
Шайбы пружинные ГОСТ 6402—70
4 31308-1 Шайба _ 24 Шайбы, шайбы стопорные. Пластины стопорные.
Параметры: D=21, S=2
Шайбы, шайбы стопорные. Пластины стопорные.
5 50-55-276СП Крышка _ 1 Вес: 7.300
6 700-40-7789 Прокладка _ 12
7 38385 Пружина _ 10 Пружины
Параметры: D=21,5, d=2,5, к-во вит=7,5
Пружины
8 18-25-31 Шайба-
колпачок
_ 10
9 18-25-32 Упор _ 10 Вес: 0.075
10 3,2Х18 Шплинт _ 10 Шплинты
Параметры: l=18, D=5,8, l1=6,4, l2=3,2
Шплинты
12 50-55-271СП Лобовина 50-55-27-03СП 1 Вес: 9.000
12 50-55-271СП Лобовина 50-55-27-02СП 1 Вес: 9.000
12 50-55-271СП Лобовина 50-55-27СП 1 Вес: 9.000
13 12ОТ65Г09 Шайба 50-55-27-02СП 20 Шайбы пружинные ГОСТ 6402—70
Параметры: , S=4,0, l=3,0, H=8,0, b=4,0
Вес: 0.007
Шайбы              пружинные ГОСТ 6402—70
13 12ОТ65Г09 Шайба 50-55-27-01СП 26 Шайбы пружинные ГОСТ 6402—70
Параметры: , S=4,0, l=3,0, H=8,0, b=4,0
Вес: 0.007
Шайбы              пружинные ГОСТ 6402—70
13 12ОТ65Г09 Шайба 50-55-27СП 26 Шайбы пружинные ГОСТ 6402—70
Параметры: , S=4,0, l=3,0, H=8,0, b=4,0
Вес: 0.007
Шайбы              пружинные ГОСТ 6402—70
13 12ОТ65Г09 Шайба 50-55-27-03СП 28 Шайбы пружинные ГОСТ 6402—70
Параметры: , S=4,0, l=3,0, H=8,0, b=4,0
Вес: 0.007
Шайбы              пружинные ГОСТ 6402—70
14 50-55-274-01СП Козырек 50-55-27-01СП 1
14 50-55-274СП Козырек 50-55-27-03СП 1 Вес: 4.980
14 50-55-274СП Козырек 50-55-27-02СП 1 Вес: 4.980
14 50-55-274СП Козырек 50-55-27СП 1 Вес: 4.980
15 М12Х30.58.019 Болт 50-55-27СП 24 Болты с шестигранной уменьшенной головкой ГОСТ 7796—70
Параметры: L=30, H=7, S=17, D=18,7
Болты с шестигранной уменьшенной головкой ГОСТ 7796—70
15 М12Х30.58.019 Болт 50-55-27-03СП 26 Болты с шестигранной уменьшенной головкой ГОСТ 7796—70
Параметры: L=30, H=7, S=17, D=18,7
Болты с              шестигранной уменьшенной головкой ГОСТ 7796—70
15 М12Х30.58.019 Болт 50-55-27-02СП 20 Болты с шестигранной уменьшенной головкой ГОСТ 7796—70
Параметры: L=30, H=7, S=17, D=18,7
Болты с              шестигранной уменьшенной головкой ГОСТ 7796—70
15 М12Х30.58.019 Болт 50-55-27-01СП 24 Болты с шестигранной уменьшенной головкой ГОСТ 7796—70
Параметры: L=30, H=7, S=17, D=18,7
Болты с              шестигранной уменьшенной головкой ГОСТ 7796—70
16 3135-1 Шайба 50-55-27-03СП 22 Шайбы, шайбы стопорные. Пластины стопорные.
Параметры: D=24, S=2
Шайбы, шайбы стопорные. Пластины стопорные.
16 3135-1 Шайба 50-55-27-02СП 20 Шайбы, шайбы стопорные. Пластины стопорные.
Параметры: D=24, S=2
Шайбы,              шайбы стопорные. Пластины стопорные.
16 3135-1 Шайба 50-55-27-01СП 20 Шайбы, шайбы стопорные. Пластины стопорные.
Параметры: D=24, S=2
Шайбы,              шайбы стопорные. Пластины стопорные.
16 3135-1 Шайба 50-55-27СП 20 Шайбы, шайбы стопорные. Пластины стопорные.
Параметры: D=24, S=2
Шайбы,              шайбы стопорные. Пластины стопорные.
17 50-55-486 Створка _ 1 Вес: 4.000
18 50-55-487 Створка _ 1 Вес: 4.000
19 3197 Шайба _ 8 Шайбы, шайбы стопорные. Пластины стопорные.
Параметры: D=30, S=3
Шайбы,              шайбы стопорные. Пластины стопорные.
20 50-55-325СП Крышка 50-55-27СП 1 Вес: 34.000
20 50-55-325СП Крышка 50-55-27-03СП 1 Вес: 34.000
20 50-55-325СП Крышка 50-55-27-01СП 1 Вес: 34.000
21 50-55-488 Створка _ 1 Вес: 5.800
22 50-55-489 Створка _ 1 Вес: 5.800
24 50-55-459 Опора _ 1 Вес: 5.300
25 50-55-280СП Решетка 50-55-27-03СП 1 Вес: 21.649
25 50-55-280СП Решетка 50-55-27-01СП 1 Вес: 21.649
25 50-55-280СП Решетка 50-55-27СП 1 Вес: 21.649
26 3011 Гайка _ 4 Гайки нестандартные
Параметры: H=10, S=22, D=24,3
Гайки нестандартные
27 50-55-306СП Кронштейн _ 2 Вес: 3.000
28 16ОТ65Г09 Шайба _ 4 Шайбы пружинные ГОСТ 6402—70
Параметры: , S=5,0, l=3,7, H=10,0, b=5,0
Шайбы пружинные ГОСТ 6402—70
29 31477-01 Шайба _ 4 Вес: 0.012
30 700-28-2621 Болт _ 4
31 50-55-449 Уголок _ 2
32 50-55-323-01СП Боковина 50-55-27-03СП 1
32 50-55-323СП Боковина 50-55-27-02СП 1 Вес: 11.000
32 50-55-323СП Боковина 50-55-27СП 1 Вес: 11.000
33 50-55-324-01СП Боковина 50-55-27-03СП 1
33 50-55-324СП Боковина 50-55-27-02СП 1 Вес: 11.399
33 50-55-324СП Боковина 50-55-27СП 1 Вес: 11.399
34 591044 Амортизатор _ 7
35 50-55-279СП Проставка _ 1 Вес: 2.650
36 700-40-3684 Втулка _ 2
37 М12Х55.58.019 Болт _ 2 Болты с шестигранной уменьшенной головкой и направляющим подголовком ГОСТ 7795—70
Параметры: L=55, l0=30, H=7, h=6, S=17, D=18,7
Болты с шестигранной уменьшенной головкой и направляющим подголовком ГОСТ 7795—70
38 50-55-450 Втулка _ 2
39 50-55-307 Опора _ 2
40 50-55-120СП Планка 50-55-27-03СП 1
41 50-55-207 Вставка 50-55-27-03СП 1
42 50-55-194СП Лобовина 50-55-27-01СП 1
43 50-55-195СП Боковина 50-55-27-01СП 1
44 50-55-196СП Боковина 50-55-27-01СП 1