f83c8b32
Тел: 8-800-700-79-69
Звонок бесплатный!

Акция

НОВЫЕ ЗАВОДСКИЕ Бульдозера Б10М от 3350000 р от ДИЛЕРА!

Наличие, доставка в любой регион.

По ценам:
На Б10М.0801-5% от прайса;
На Б10М.0101-7% от прайса.

Срок акции - до 1 июля 2013 г.

Обратная связь
 

 

Консультации по технике:
Консультации по запчастям:
ВНИМАНИЕ! Подделки

Предложения о поставке техники не заводской сборки под видом новой, соответственно с заниженной стоимостью приобретения. Данная техника, как правило, собрана на старой бывшей в употреблении раме с применением ремонтных узлов и агрегатов. Несмотря на привлекательную стоимость, качество сборки и потребительские свойства такой техники зачастую очень низкие.

Своими действиями представители «серого рынка» вводят в заблуждение порядочных потребителей специальной техники производства тюнинг, поставляя товар низкого качества без обеспечения гарантийных обязательств, а также наносят непоправимый ущерб репутации Челябинского омскного завода.

Уважаемый покупатель наши специалисты готовы проконсультировать по всем вопросам связанным с подбором и приобретением нового «заводской сборки» омска или ремонта производства тюнинг.

бу аккумуляторы.

Новости
Разработка собственного дизеля ООО «тюнинг-Уралтрак»
18/04/2011

ООО «тюнинг-Уралтрак» в срок до 2016 г. организует выпуск серии дизелей серии Т. В планах по изготовлению восемь двигателей: 4 шестицилиндровых и 4 четырехцилиндровыхи по 2 восьми и двенадцатицилиндровых. Изготовление указанных двигателей тюнинг ведется в соответствии с условиями госконтракта. Данное …

Расширяем ассортимент продукции: запасные части ДТ-75 в наличии на складе г.Нижний Новгород
15/04/2011

ООО «reaktor-omsk» расширяет ассортимент продукции. На складе в г. Нижний Новгород всегда в наличии запасные части на омск ДТ-75, ДТ-75М, АГРОМАШ 90ТГ, в частности гусеница в сборе 77.34.001, звено гусеницы 74.34.501, колесо направляющее ДТ-75 85.32.001, каретка подвески 85.31.001-1, ролик поддерживающий …

Внимание!
Сведения, размещенные на настоящем Интернет-ресурсе, носят исключительно информационный характер и не являются публичной офертой (ст. 437 Гражданского кодекса РФ). Убедительная просьба дополнительно уточнять указанные данные по электронной почте или контактным телефонам

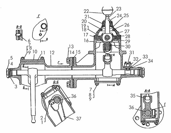
Механизм переключения передач омсков болотоходных модификаций

Поз. Обозначение Наименование Входит в сборочную единицу Кол. Дополнительно
- 20-12-9СП Коробка передач омсков Т-170Б.01 _ 1 Вес: 508.299
- 20-12-132СП Механизм переключения передач 20-12-9СП 1
- КО50Х70-2 Кольцо _ 1 Вес: 0.012
- 20-12-131СП Механизм переключения передач 50-12-15СП 1
- 20-12-0-01СП Коробка передач омсков Т-170М1Б.01 _ 1
- 20-12-131СП Механизм переключения передач 20-12-9СП 1
- 700-40-3254-1 Прокладка 20-12-130СП 1
- 40819-1 Прокладка _ 3
- 20-12-130СП Проставка 20-12-131СП 1 Вес: 18.909
- ВК-4183716000-Т Выключатель ВК-4183716000-Т _ 1
- 20-12-129СП Проставка 20-12-132СП 1 Вес: 19.000
- 20-12-132СП Механизм переключения передач 50-12-15СП 1
- 32349 Штифт 20-12-130СП 1 Штифты
Параметры: l=22, h1=1,6, R=20
Штифты
1 700-31-2542 Пластина стопорная _ 2 Шайбы, шайбы стопорные. Пластины стопорные.
Параметры: , S=1,5, L=58, l=25, l1=14, H=27, b=16,5, R=6,5, R1=6, a0=60
Шайбы, шайбы стопорные. Пластины стопорные.
2 700-28-2336 Болт _ 4 Болты нестандартные
Параметры: L=32, H=7, S=17, D=18,7
Болты нестандартные
3 40588 Прокладка _ 4
4 700-37-2154 Пробка _ 2 Пробки
Параметры: L=20, H=8, h=4, S=36, D=39,6
Пробки
5 31368 Шайба _ 2 Шайбы, шайбы стопорные. Пластины стопорные.
Параметры: D=50, S=1,5, L=60, l=14
Шайбы, шайбы стопорные. Пластины стопорные.
6 32349 Штифт 20-12-129СП 1 Штифты
Параметры: l=22, h1=1,6, R=20
Штифты
7 М8Х1.6.019 Гайка М8х1.6.019 _ 8 Гайки шестигранные ГОСТ 5927—70
Параметры: H=6,5, S=13, D=14,4
Гайки шестигранные ГОСТ 5927—70
8 8Т65Г09 Шайба _ 8 Шайбы пружинные ГОСТ 6402—70
Параметры: , S=2,5, l=1,9, H=5, b=2,5
Шайбы пружинные ГОСТ 6402—70
9 2М8Х1,25-3p/
1-6gХ18.66.016
Шпилька 2М8х1,25-3p/
1-6gх18.66.016
_ 8
10 18-12-246 Крышка _ 2
11 700-40-3072-01 Прокладка _ 2
12 20-12-85 Проставка задняя правая 20-12-129СП 1
12 20-12-86 Проставка задняя левая 20-12-130СП 1
13 700-28-2621 Болт 20-12-130СП 4
13 700-28-2621 Болт 20-12-129СП 1
14 16ОТ65Г09 Шайба 20-12-130СП 4 Шайбы пружинные ГОСТ 6402—70
Параметры: , S=5,0, l=3,7, H=10,0, b=5,0
Шайбы пружинные ГОСТ 6402—70
14 16ОТ65Г09 Шайба 20-12-129СП 4 Шайбы пружинные ГОСТ 6402—70
Параметры: , S=5,0, l=3,7, H=10,0, b=5,0
Шайбы пружинные ГОСТ 6402—70
15 700-40-3254 Прокладка 20-12-129СП 1
16 20-12-84 Проставка передняя левая 20-12-130СП 1
16 20-12-80 Проставка передняя правая 20-12-129СП 1
17 13317 Фланец шаровой _ 2 Вес: 0.324
18 М10Х30.58.019 Болт _ 4 Болты с шестигранной уменьшенной головкой ГОСТ 7796—70
Параметры: L=30, H=6, S=14, D=15,3
Болты с шестигранной уменьшенной головкой ГОСТ 7796—70
19 10ОТ65Г09 Шайба _ 4 Шайбы пружинные ГОСТ 6402—70
Параметры: , S=3,5, l=2,5, H=7, b=3,5
Шайбы пружинные ГОСТ 6402—70
20 13319 Крышка _ 1 Вес: 0.079
21 13591 Крышка _ 1 Вес: 0.035
22 13310СП Рукоятка _ 1 Вес: 0.250
23 18-12-162СП Рычаг 20-12-131СП 1 Вес: 2.509
23 18-12-161СП Рычаг 20-12-132СП 1 Вес: 2.509
24 4Х32 Шплинт _ 1 Шплинты
Параметры: l=32, D=7,4, l1=8, l2=4
Шплинты
25 46612 Колпачок _ 1 Вес: 0.029
26 40820 Кольцо _ 1
27 13318 Фланец шаровой _ 1 Вес: 0.159
28 40819 Прокладка _ 3 Вес: 0.017
29 13360 Кольцо _ 1 Вес: 0.200
30 38325 Пружина _ 2 Пружины
Параметры: D=21, d=3, к-во вит=10
Пружины
31 ВК-418-3716000 Выключатель ВК-418-3716000 _ 1
32 21-12-50 Прокладка 20-12-132СП 7
33 014-018-25-2-5 Кольцо 20-12-132СП 1
34 18-12-411 Пластина 20-12-132СП 1
35 20-12-91 Хвостовик _ 1 Вес: 0.615
36 20-12-79 Валик 20-12-131СП 1 Вес: 2.000
36 20-12-92 Валик 20-12-132СП 1 Вес: 2.000
37 20-12-90 Рычаг _ 1 Вес: 1.029