f83c8b32
Тел: 8-800-700-79-69
Звонок бесплатный!

Акция

НОВЫЕ ЗАВОДСКИЕ Бульдозера Б10М от 3350000 р от ДИЛЕРА!

Наличие, доставка в любой регион.

По ценам:
На Б10М.0801-5% от прайса;
На Б10М.0101-7% от прайса.

Срок акции - до 1 июля 2013 г.

Обратная связь
 

 

Консультации по технике:
Консультации по запчастям:
ВНИМАНИЕ! Подделки

Предложения о поставке техники не заводской сборки под видом новой, соответственно с заниженной стоимостью приобретения. Данная техника, как правило, собрана на старой бывшей в употреблении раме с применением ремонтных узлов и агрегатов. Несмотря на привлекательную стоимость, качество сборки и потребительские свойства такой техники зачастую очень низкие.

Своими действиями представители «серого рынка» вводят в заблуждение порядочных потребителей специальной техники производства тюнинг, поставляя товар низкого качества без обеспечения гарантийных обязательств, а также наносят непоправимый ущерб репутации Челябинского омскного завода.

Уважаемый покупатель наши специалисты готовы проконсультировать по всем вопросам связанным с подбором и приобретением нового «заводской сборки» омска или ремонта производства тюнинг.

бу аккумуляторы.

Новости
Разработка собственного дизеля ООО «тюнинг-Уралтрак»
18/04/2011

ООО «тюнинг-Уралтрак» в срок до 2016 г. организует выпуск серии дизелей серии Т. В планах по изготовлению восемь двигателей: 4 шестицилиндровых и 4 четырехцилиндровыхи по 2 восьми и двенадцатицилиндровых. Изготовление указанных двигателей тюнинг ведется в соответствии с условиями госконтракта. Данное …

Расширяем ассортимент продукции: запасные части ДТ-75 в наличии на складе г.Нижний Новгород
15/04/2011

ООО «reaktor-omsk» расширяет ассортимент продукции. На складе в г. Нижний Новгород всегда в наличии запасные части на омск ДТ-75, ДТ-75М, АГРОМАШ 90ТГ, в частности гусеница в сборе 77.34.001, звено гусеницы 74.34.501, колесо направляющее ДТ-75 85.32.001, каретка подвески 85.31.001-1, ролик поддерживающий …

Внимание!
Сведения, размещенные на настоящем Интернет-ресурсе, носят исключительно информационный характер и не являются публичной офертой (ст. 437 Гражданского кодекса РФ). Убедительная просьба дополнительно уточнять указанные данные по электронной почте или контактным телефонам

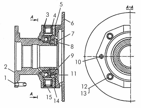
Муфта включения

Поз. Обозначение Наименование Входит в сборочную единицу Кол. Дополнительно
- 18-14-133СП Муфта включения 18-14-4СП 1 Вес: 14.699
- 700-40-5260-1 Прокладка _ 1
- 18-14-133СП Муфта включения 20-14-2СП 1 Вес: 14.699
1 18-14-30 Палец _ 3 Вес: 0.025
2 50-14-39 Ползун _ 1 Вес: 5.346
3 18-14-33 Заглушка _ 2 Вес: 0.014
4 710-14-126 Сальник _ 2
5 700-40-5260 Прокладка _ 1
6 18-14-124 Крышка _ 1 Вес: 4.869
7 50-14-4 Втулка _ 1 Вес: 0.560
8 18-14-89 Кольцо _ 1 Вес: 0.029
9 50-14-15 Кольцо _ 4 Вес: 0.039
10 32349 Штифт _ 2 Штифты
Параметры: l=22, h1=1,6, R=20
Штифты
11 118 Подшипник _ 1 Подшипники
Параметры: Ф нар=140, ширина=24
12 М10Х25.46.019 Болт М10х25.46.019 _ 4
13 10ОТ65Г09 Шайба _ 4 Шайбы пружинные ГОСТ 6402—70
Параметры: , S=3,5, l=2,5, H=7, b=3,5
Шайбы пружинные ГОСТ 6402—70
14 50-14-38 Корпус подшипника _ 1 Вес: 3.368
15 14355 Втулка _ 2 Вес: 0.059