Поз. |
Обозначение |
Наименование |
Входит в сборочную единицу |
Кол. |
Дополнительно |
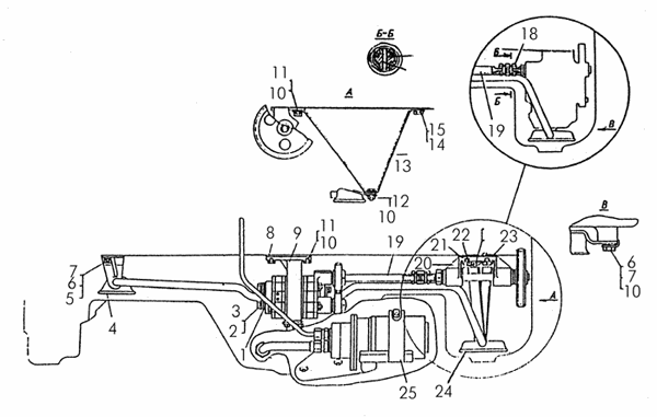
1 |
40751 |
Прокладка |
_ |
2 |
|
2 |
М8Х20.58.019 |
Болт |
_ |
4 |
Болты с шестигранной уменьшенной головкой ГОСТ 7796—70
Параметры: L=20, H=5, S=12, D=13,1
 |
3 |
8Т65Г09 |
Шайба |
_ |
8 |
Шайбы пружинные ГОСТ 6402—70
Параметры: , S=2,5, l=1,9, H=5, b=2,5
 |
4 |
51-09-162СП |
Маслоприемник |
_ |
1 |
Вес: 0.490 |
5 |
3198 |
Шайба стопорная |
_ |
1 |
Шайбы, шайбы стопорные. Пластины стопорные.
Параметры: D=20, S=1, L=11,5, l=14, l1=6, H=30, b=10, R=10, R1=3
 |
6 |
М10Х25.58.019 |
Болт |
_ |
2 |
Болты с шестигранной уменьшенной головкой ГОСТ 7796—70
Параметры: L=25, H=6, S=14, D=15,3
 |
7 |
31308 |
Шайба |
51-09-29СП |
1 |
Шайбы, шайбы стопорные. Пластины стопорные.
Параметры: D=21, S=2
 |
7 |
31308 |
Шайба |
51-09-27СП |
2 |
Шайбы, шайбы стопорные. Пластины стопорные.
Параметры: D=21, S=2
 |
7 |
31308 |
Шайба |
51-09-28СП |
2 |
Шайбы, шайбы стопорные. Пластины стопорные.
Параметры: D=21, S=2
 |
7 |
31308 |
Шайба |
51-09-26СП |
7 |
Шайбы, шайбы стопорные. Пластины стопорные.
Параметры: D=21, S=2
 |
8 |
700-40-7194 |
Прокладка |
_ |
1 |
|
9 |
51-09-127СП |
Насос масляный |
_ |
1 |
|
10 |
3137 |
Шайба стопорная |
51-09-27СП |
5 |
Шайбы, шайбы стопорные. Пластины стопорные.
Параметры: , S=1,5, L=18, l=10, H=27, b=9, R=25, R1=3
 |
10 |
3137 |
Шайба стопорная |
51-09-28СП |
5 |
Шайбы, шайбы стопорные. Пластины стопорные.
Параметры: , S=1,5, L=18, l=10, H=27, b=9, R=25, R1=3
 |
10 |
3137 |
Шайба стопорная |
51-09-26СП |
1 |
Шайбы, шайбы стопорные. Пластины стопорные.
Параметры: , S=1,5, L=18, l=10, H=27, b=9, R=25, R1=3
 |
10 |
3137 |
Шайба стопорная |
51-09-29СП |
7 |
Шайбы, шайбы стопорные. Пластины стопорные.
Параметры: , S=1,5, L=18, l=10, H=27, b=9, R=25, R1=3
 |
11 |
М10Х30.58.019 |
Болт |
51-09-29СП |
5 |
Болты с шестигранной уменьшенной головкой ГОСТ 7796—70
Параметры: L=30, H=6, S=14, D=15,3
 |
11 |
М10Х30.58.019 |
Болт |
51-09-27СП |
4 |
Болты с шестигранной уменьшенной головкой ГОСТ 7796—70
Параметры: L=30, H=6, S=14, D=15,3
 |
11 |
М10Х30.58.019 |
Болт |
51-09-28СП |
4 |
Болты с шестигранной уменьшенной головкой ГОСТ 7796—70
Параметры: L=30, H=6, S=14, D=15,3
 |
11 |
М10Х30.58.019 |
Болт |
51-09-26СП |
4 |
Болты с шестигранной уменьшенной головкой ГОСТ 7796—70
Параметры: L=30, H=6, S=14, D=15,3
 |
12 |
М10Х6.019 |
Гайка М10Х6.019 |
51-09-29СП |
1 |
Гайки шестигранные ГОСТ 5915—70
Параметры: H=8, S=17, D=18,7
 |
12 |
М10Х6.019 |
Гайка М10Х6.019 |
51-09-27СП |
2 |
Гайки шестигранные ГОСТ 5915—70
Параметры: H=8, S=17, D=18,7
 |
13 |
51-09-173СП |
Кронштейн |
51-09-29СП |
1 |
|
13 |
51-09-173СП |
Кронштейн |
51-09-27СП |
1 |
|
14 |
31536 |
Шайба стопорная |
51-09-29СП |
1 |
Шайбы, шайбы стопорные. Пластины стопорные.
Параметры: D=25, S=1,5, L=20, l=32, b=12
 |
14 |
31536 |
Шайба стопорная |
51-09-27СП |
1 |
Шайбы, шайбы стопорные. Пластины стопорные.
Параметры: D=25, S=1,5, L=20, l=32, b=12
 |
15 |
М16Х30.58.019 |
Болт |
51-09-29СП |
1 |
Болты с шестигранной уменьшенной головкой ГОСТ 7796—70
Параметры: L=30, H=9, S=22, D=24,3
 |
15 |
М16Х30.58.019 |
Болт |
51-09-27СП |
5 |
Болты с шестигранной уменьшенной головкой ГОСТ 7796—70
Параметры: L=30, H=9, S=22, D=24,3
 |
16 |
700-32-2125 |
Штифт |
_ |
2 |
Штифты
Параметры: l=20
 |
17 |
700-58-2368 |
Кольцо |
_ |
2 |
Кольца пружинные
Параметры: d=28, l=7, R=1,6, d1=2, a0=25
 |
18 |
51-09-50 |
Муфта |
_ |
1 |
Вес: 0.109 |
19 |
51-09-132СП |
Валик |
_ |
1 |
|
20 |
51-09-226СП |
Валик |
51-09-29СП |
1 |
|
20 |
51-09-226СП |
Валик |
51-09-27СП |
1 |
|
21 |
700-31-2527 |
Пластина |
51-09-29СП |
1 |
Шайбы, шайбы стопорные. Пластины стопорные.
Параметры: , S=1,5, L=55, l=22, H=25, b=18, R=15, a0=90
 |
21 |
700-31-2527 |
Пластина |
51-09-27СП |
1 |
Шайбы, шайбы стопорные. Пластины стопорные.
Параметры: , S=1,5, L=55, l=22, H=25, b=18, R=15, a0=90
 |
22 |
М16Х40.58.019 |
Болт |
51-09-29СП |
2 |
Болты с шестигранной уменьшенной головкой ГОСТ 7796—70
Параметры: L=40, H=9, S=22, D=24,3
 |
22 |
М16Х40.58.019 |
Болт |
51-09-27СП |
1 |
Болты с шестигранной уменьшенной головкой ГОСТ 7796—70
Параметры: L=40, H=9, S=22, D=24,3
 |
23 |
51-09-203 |
Прокладка |
51-09-29СП |
1 |
|
23 |
51-09-203 |
Прокладка |
51-09-27СП |
1 |
|
24 |
51-09-149СП |
Маслоприемник |
_ |
1 |
|
25 |
51-09-188СП |
Установка маслозакачивающего насоса |
51-09-27СП |
1 |
|
25 |
51-09-188СП |
Установка маслозакачивающего насоса |
51-09-26СП |
1 |
|