f83c8b32
Тел: 8-800-700-79-69
Звонок бесплатный!

Акция

НОВЫЕ ЗАВОДСКИЕ Бульдозера Б10М от 3350000 р от ДИЛЕРА!

Наличие, доставка в любой регион.

По ценам:
На Б10М.0801-5% от прайса;
На Б10М.0101-7% от прайса.

Срок акции - до 1 июля 2013 г.

Обратная связь
 

 

Консультации по технике:
Консультации по запчастям:
ВНИМАНИЕ! Подделки

Предложения о поставке техники не заводской сборки под видом новой, соответственно с заниженной стоимостью приобретения. Данная техника, как правило, собрана на старой бывшей в употреблении раме с применением ремонтных узлов и агрегатов. Несмотря на привлекательную стоимость, качество сборки и потребительские свойства такой техники зачастую очень низкие.

Своими действиями представители «серого рынка» вводят в заблуждение порядочных потребителей специальной техники производства тюнинг, поставляя товар низкого качества без обеспечения гарантийных обязательств, а также наносят непоправимый ущерб репутации Челябинского омскного завода.

Уважаемый покупатель наши специалисты готовы проконсультировать по всем вопросам связанным с подбором и приобретением нового «заводской сборки» омска или ремонта производства тюнинг.

бу аккумуляторы.

Новости
Разработка собственного дизеля ООО «тюнинг-Уралтрак»
18/04/2011

ООО «тюнинг-Уралтрак» в срок до 2016 г. организует выпуск серии дизелей серии Т. В планах по изготовлению восемь двигателей: 4 шестицилиндровых и 4 четырехцилиндровыхи по 2 восьми и двенадцатицилиндровых. Изготовление указанных двигателей тюнинг ведется в соответствии с условиями госконтракта. Данное …

Расширяем ассортимент продукции: запасные части ДТ-75 в наличии на складе г.Нижний Новгород
15/04/2011

ООО «reaktor-omsk» расширяет ассортимент продукции. На складе в г. Нижний Новгород всегда в наличии запасные части на омск ДТ-75, ДТ-75М, АГРОМАШ 90ТГ, в частности гусеница в сборе 77.34.001, звено гусеницы 74.34.501, колесо направляющее ДТ-75 85.32.001, каретка подвески 85.31.001-1, ролик поддерживающий …

Внимание!
Сведения, размещенные на настоящем Интернет-ресурсе, носят исключительно информационный характер и не являются публичной офертой (ст. 437 Гражданского кодекса РФ). Убедительная просьба дополнительно уточнять указанные данные по электронной почте или контактным телефонам

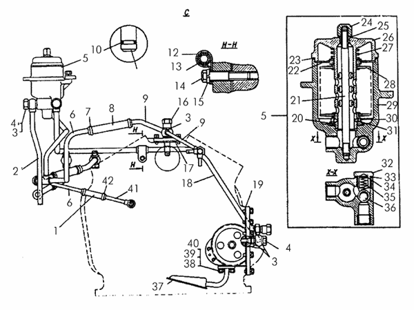
Система смазки трансмиссии (продолжение)

Поз. Обозначение Наименование Входит в сборочную единицу Кол. Дополнительно
- 20-60-120СП Труба _ 1
- 50-60-225СП Крышка в сборе 24-60-111СП 1
- 50-60-203СП Труба 24-60-1СП 1
1 700-40-3481 Рукав _ 2 Рукава
Параметры: L=0,1, Применение=Система смазки трансмиссии
2 24-60-147СП Труба _ 1
3 40910 Кольцо _ 12 Вес: 0.003
4 700-41-3306 Болт полый _ 5
5 50-60-214СП Фильтр _ 1
6 50-60-202СП Труба 50-60-205СП 1
7 700-41-2228СП Хомут _ 6
8 700-46-2185-01 Рукав _ 2 Рукава
Параметры: L=0,19, Применение=Система смазки трансмиссии
9 50-60-204СП Труба 20-60-119СП 1
10 014-018-25-2-2 Кольцо _ 1 Вес: 0.001
11 50-60-218 Фланец _ 1 Вес: 0.316
12 700-41-3022 Хомут _ 1
13 42212 Муфта _ 5
14 М16Х75.58.019 Болт _ 1 Болты с шестигранной уменьшенной головкой и направляющим подголовком ГОСТ 7795—70
Параметры: L=75, l0=38, H=9, h=8, S=22, D=24,3
Болты с шестигранной уменьшенной головкой и направляющим подголовком ГОСТ 7795—70
15 16ОТ65Г09 Шайба 20-60-3СП 1 Шайбы пружинные ГОСТ 6402—70
Параметры: , S=5,0, l=3,7, H=10,0, b=5,0
Шайбы пружинные ГОСТ 6402—70
15 16ОТ65Г09 Шайба 24-60-1СП 1 Шайбы пружинные ГОСТ 6402—70
Параметры: , S=5,0, l=3,7, H=10,0, b=5,0
Шайбы              пружинные ГОСТ 6402—70
16 700-41-3017-1 Гайка накидная _ 1
17 700-40-6769 Прокладка _ 1
18 20-60-121СП Труба 20-60-3СП 1
19 700-40-3788-1 Прокладка _ 1
20 46485 Кольцо СП-60-40-7 2460111CП 1
20 46485 Кольцо СП-60-40-7 50-60-225СП 1
21 700-29-2086 Шпилька 24-60-111СП 1 Шпильки
Параметры: Резьба2=М16Х1,5-8g, L=205, l0=24, l1=20, d=16
Шпильки
22 700-31-2042 Шайба 50-60-225СП 1 Шайбы, шайбы стопорные. Пластины стопорные.
Параметры: D=62, S=2
Вес: 0.008
Шайбы, шайбы стопорные. Пластины стопорные.
23 700-40-5379 Прокладка _ 1
24 16-27-5 Гайка глухая 24-60-111СП 1
25 40911 Кольцо 24-60-111СП 1 Вес: 0.002
26 24-60-29 Крышка 50-60-225СП 1
27 700-38-2112 Пружина 50-60-225СП 1 Пружины
Параметры: D=51, d=3,5, к-во вит=6
Пружины
28 18-26-161СП Фильтрующий элемент 95-080 50-60-225СП 17 Вес: 0.026
29 50-60-264 Корпус 24-60-111СП 1
30 28-60-11-1 Кольцо 50-60-225СП 1
31 700-42-2320 Кольцо упорное 50-60-225СП 2
32 700-41-2853 Штуцер 24-60-111СП 1
33 24Х30 Кольцо 24-60-111СП 1
33 24Х30 Кольцо 24-60-1СП 1
33 24Х30 Кольцо 20-60-3СП 1
34 31312 Шайба 24-60-111СП 1 Шайбы, шайбы стопорные. Пластины стопорные.
Параметры: D=16,6, S=1,0
Шайбы,              шайбы стопорные. Пластины стопорные.
35 700-38-2298 Пружина 24-60-111СП 1 Пружины
Параметры: D=16, d=1,6, к-во вит=12
Пружины
36 Б22,225Х200 Шарик 24-60-111СП 1
37 50-60-201СП Маслоприемник 50-60-200СП 1
38 М8Х20.58.019 Болт 50-60-200СП 2 Болты с шестигранной уменьшенной головкой ГОСТ 7796—70
Параметры: L=20, H=5, S=12, D=13,1
Болты с шестигранной уменьшенной головкой ГОСТ 7796—70
39 8Т65Г09 Шайба 50-60-200СП 2 Шайбы пружинные ГОСТ 6402—70
Параметры: , S=2,5, l=1,9, H=5, b=2,5
Шайбы              пружинные ГОСТ 6402—70
40 40751 Прокладка 50-60-200СП 1
41 24-60-150СП Труба _ 1
42 700-41-2235-
37СП
Хомут _ 4