| Поз. |
Обозначение |
Наименование |
Входит в сборочную единицу |
Кол. |
Дополнительно |
| - |
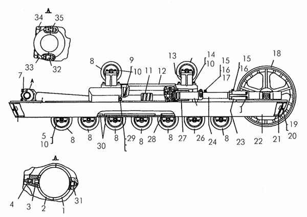
50-21-163 |
Планка |
48-21-113СП |
2 |
Вес: 5.099 |
| - |
48-21-114СП |
Тележка правая в сборе омска Т-170М1Б.01-2 |
_ |
1 |
Вес: 1970.000 |
| - |
50-21-210 |
Кронштейн |
50-21-271СП |
2 |
Вес: 17.500 |
| - |
50-21-162 |
Планка |
50-21-269СП |
2 |
Вес: 4.199 |
| - |
48-21-113СП |
Тележка левая в сборе омска Т-170М1Б.01-2 |
_ |
1 |
Вес: 1970.000 |
| - |
50-21-210 |
Кронштейн |
50-21-270СП |
2 |
Вес: 17.500 |
| - |
50-21-162 |
Планка |
50-21-268СП |
2 |
Вес: 4.199 |
| - |
48-21-111СП |
Рама тележки левая для болотоходных омсков |
48-21-113СП |
1 |
Вес: 900.000 |
| - |
50-21-138СП |
Колесо натяжное левое |
50-21-271СП |
1 |
Вес: 255.800 |
| - |
50-21-163 |
Планка |
50-21-269СП |
2 |
Вес: 5.099 |
| - |
50-21-138СП |
Колесо натяжное левое |
50-21-269СП |
1 |
Вес: 255.800 |
| - |
50-21-163 |
Планка |
50-21-268СП |
2 |
Вес: 5.099 |
| - |
50-21-138СП |
Колесо натяжное левое |
48-21-113СП |
1 |
Вес: 255.800 |
| - |
50-21-163 |
Планка |
48-21-114СП |
2 |
Вес: 5.099 |
| 1 |
50-21-273 |
Вкладыш |
_ |
2 |
Вес: 0.610 |
| 2 |
50-21-273 |
Вкладыш |
_ |
2 |
Вес: 0.610 |
| 3 |
50-21-272 |
Фиксатор |
_ |
2 |
Вес: 0.012 |
| 4 |
1.3.Ц6 |
Масленка 1.3.Ц6 |
_ |
1 |
|
| 5 |
700-28-2527-01 |
Болт |
48-21-113СП |
4 |
Вес: 0.277 |
| 6 |
50-21-253 |
Крышка |
_ |
2 |
Вес: 0.225 |
| 7 |
3065Г09 |
Шайба |
_ |
4 |
Шайбы пружинные ГОСТ 6402—70
Параметры: , S=8,0, l=6,0, H=16,0, b=8,0
 |
| 8 |
24-21-169СП |
Каток однобортный |
50-21-268СП |
6 |
Вес: 69.000 |
| 8 |
24-21-169СП |
Каток однобортный |
48-21-114СП |
6 |
Вес: 69.000 |
| 8 |
24-21-169СП |
Каток однобортный |
48-21-113СП |
6 |
Вес: 69.000 |
| 8 |
24-21-169СП |
Каток однобортный |
50-21-271СП |
5 |
Вес: 69.000 |
| 8 |
24-21-169СП |
Каток однобортный |
50-21-270СП |
5 |
Вес: 69.000 |
| 8 |
24-21-169СП |
Каток однобортный |
50-21-269СП |
6 |
Вес: 69.000 |
| 9 |
М20Х50.88.35.019 |
Болт М20х50.88.35.019 |
_ |
12 |
|
| 10 |
20.ОТ.65Г09 |
Шайба 20.ОТ.65Г09 |
50-21-271СП |
48 |
Шайбы пружинные ГОСТ 6402—70
Параметры: , S=6,0, l=4,5, H=12,0, b=6,0
Вес: 0.024
 |
| 10 |
20.ОТ.65Г09 |
Шайба 20.ОТ.65Г09 |
50-21-270СП |
48 |
Шайбы пружинные ГОСТ 6402—70
Параметры: , S=6,0, l=4,5, H=12,0, b=6,0
Вес: 0.024
 |
| 10 |
20.ОТ.65Г09 |
Шайба 20.ОТ.65Г09 |
48-21-114СП |
48 |
Шайбы пружинные ГОСТ 6402—70
Параметры: , S=6,0, l=4,5, H=12,0, b=6,0
Вес: 0.024
 |
| 10 |
20.ОТ.65Г09 |
Шайба 20.ОТ.65Г09 |
48-21-113СП |
48 |
Шайбы пружинные ГОСТ 6402—70
Параметры: , S=6,0, l=4,5, H=12,0, b=6,0
Вес: 0.024
 |
| 11 |
20-21-132СП |
Механизм сдавания |
_ |
1 |
|
| 12 |
50-21-128 |
Щиток |
_ |
1 |
Вес: 11.300 |
| 13 |
20-21-64 |
Кронштейн |
_ |
2 |
Вес: 17.549 |
| 14 |
28234 |
Болт |
50-21-271СП |
8 |
Болты нестандартные
Параметры: L=60, l0=46, H=11, S=27, D=29,9
Вес: 0.194
 |
| 15 |
60-21-8 |
Стопор |
50-21-271СП |
2 |
|
| 15 |
60-21-8 |
Стопор |
50-21-270СП |
2 |
|
| 15 |
60-21-8 |
Стопор |
48-21-114СП |
2 |
|
| 15 |
60-21-8 |
Стопор |
48-21-113СП |
2 |
|
| 15 |
60-21-8 |
Стопор |
50-21-269СП |
1 |
|
| 15 |
60-21-8 |
Стопор |
50-21-268СП |
1 |
|
| 16 |
16ОТ65Г09 |
Шайба |
50-21-271СП |
2 |
Шайбы пружинные ГОСТ 6402—70
Параметры: , S=5,0, l=3,7, H=10,0, b=5,0
 |
| 16 |
16ОТ65Г09 |
Шайба |
50-21-270СП |
2 |
Шайбы пружинные ГОСТ 6402—70
Параметры: , S=5,0, l=3,7, H=10,0, b=5,0
 |
| 16 |
16ОТ65Г09 |
Шайба |
48-21-114СП |
2 |
Шайбы пружинные ГОСТ 6402—70
Параметры: , S=5,0, l=3,7, H=10,0, b=5,0
 |
| 16 |
16ОТ65Г09 |
Шайба |
48-21-113СП |
2 |
Шайбы пружинные ГОСТ 6402—70
Параметры: , S=5,0, l=3,7, H=10,0, b=5,0
 |
| 17 |
31477 |
Шайба |
48-21-113СП |
4 |
Шайбы, шайбы стопорные. Пластины стопорные.
Параметры: D=30, S=3
 |
| 18 |
24-21-146СП |
Колесо натяжное |
50-21-268СП |
1 |
Вес: 255.800 |
| 18 |
24-21-146СП |
Колесо натяжное |
48-21-114СП |
1 |
Вес: 255.800 |
| 19 |
М12Х25.58.019 |
Болт |
_ |
8 |
Болты с шестигранной уменьшенной головкой ГОСТ 7796—70
Параметры: L=25, H=7, S=17, D=18,7
 |
| 20 |
50-21-254 |
Крышка |
_ |
2 |
Вес: 0.259 |
| 21 |
12ОТ65Г09 |
Шайба |
_ |
8 |
Шайбы пружинные ГОСТ 6402—70
Параметры: , S=4,0, l=3,0, H=8,0, b=4,0
Вес: 0.007
 |
| 22 |
48-21-112СП |
Рама тележки правая для болотоходных омсков |
48-21-114СП |
1 |
Вес: 900.000 |
| 23 |
50-21-63 |
Вилка |
_ |
1 |
Вес: 20.149 |
| 24 |
20-21-135СП |
Проставка |
50-21-270СП |
1 |
Вес: 11.699 |
| 24 |
20-21-135СП |
Проставка |
48-21-114СП |
1 |
Вес: 11.699 |
| 24 |
20-21-135СП |
Проставка |
48-21-113СП |
1 |
Вес: 11.699 |
| 24 |
20-21-135СП |
Проставка |
5021217СП |
1 |
Вес: 11.699 |
| 25 |
50-21-134СП |
Механизм натяжения |
_ |
1 |
Вес: 21.500 |
| 26 |
24-21-170СП |
Каток двубортный |
50-21-271СП |
3 |
Вес: 77.400 |
| 26 |
24-21-170СП |
Каток двубортный |
50-21-270СП |
3 |
Вес: 77.400 |
| 26 |
24-21-170СП |
Каток двубортный |
48-21-114СП |
3 |
Вес: 77.400 |
| 26 |
24-21-170СП |
Каток двубортный |
48-21-113СП |
3 |
Вес: 77.400 |
| 26 |
24-21-170СП |
Каток двубортный |
50-21-269СП |
2 |
Вес: 77.400 |
| 26 |
24-21-170СП |
Каток двубортный |
50-21-268СП |
3 |
Вес: 77.400 |
| 27 |
24-21-150СП |
Фланец |
_ |
1 |
Вес: 13.000 |
| 27 |
50-21-162 |
Планка |
48-21-114СП |
4 |
Вес: 4.199 |
| 28 |
50-21-267 |
Планка |
50-21-270СП |
2 |
|
| 29 |
31372 |
Шайба |
_ |
4 |
Шайбы, шайбы стопорные. Пластины стопорные.
Параметры: D=36, S=3,0
 |
| 30 |
50-21-162 |
Планка |
48-21-156СП |
1 |
Вес: 4.199 |
| 30 |
50-21-162 |
Планка |
48-21-157-01СП |
4 |
Вес: 4.199 |
| 30 |
50-21-162 |
Планка |
48-21-113СП |
4 |
Вес: 4.199 |
| 30 |
50-21-162 |
Планка |
48-21-157СП |
1 |
Вес: 4.199 |
| 30 |
50-21-162 |
Планка |
48-21-156-01СП |
1 |
Вес: 4.199 |
| 31 |
50-21-272 |
Фиксатор |
_ |
2 |
Вес: 0.012 |
| 32 |
32202 |
Штифт |
_ |
1 |
Штифты
Параметры: l=24, h1=1,6, R=45
 |
| 33 |
50-21-115 |
Крышка пяты |
_ |
1 |
|