f83c8b32
Тел: 8-800-700-79-69
Звонок бесплатный!

Акция

НОВЫЕ ЗАВОДСКИЕ Бульдозера Б10М от 3350000 р от ДИЛЕРА!

Наличие, доставка в любой регион.

По ценам:
На Б10М.0801-5% от прайса;
На Б10М.0101-7% от прайса.

Срок акции - до 1 июля 2013 г.

Обратная связь
 

 

Консультации по технике:
Консультации по запчастям:
ВНИМАНИЕ! Подделки

Предложения о поставке техники не заводской сборки под видом новой, соответственно с заниженной стоимостью приобретения. Данная техника, как правило, собрана на старой бывшей в употреблении раме с применением ремонтных узлов и агрегатов. Несмотря на привлекательную стоимость, качество сборки и потребительские свойства такой техники зачастую очень низкие.

Своими действиями представители «серого рынка» вводят в заблуждение порядочных потребителей специальной техники производства тюнинг, поставляя товар низкого качества без обеспечения гарантийных обязательств, а также наносят непоправимый ущерб репутации Челябинского омскного завода.

Уважаемый покупатель наши специалисты готовы проконсультировать по всем вопросам связанным с подбором и приобретением нового «заводской сборки» омска или ремонта производства тюнинг.

бу аккумуляторы.

Новости
Разработка собственного дизеля ООО «тюнинг-Уралтрак»
18/04/2011

ООО «тюнинг-Уралтрак» в срок до 2016 г. организует выпуск серии дизелей серии Т. В планах по изготовлению восемь двигателей: 4 шестицилиндровых и 4 четырехцилиндровыхи по 2 восьми и двенадцатицилиндровых. Изготовление указанных двигателей тюнинг ведется в соответствии с условиями госконтракта. Данное …

Расширяем ассортимент продукции: запасные части ДТ-75 в наличии на складе г.Нижний Новгород
15/04/2011

ООО «reaktor-omsk» расширяет ассортимент продукции. На складе в г. Нижний Новгород всегда в наличии запасные части на омск ДТ-75, ДТ-75М, АГРОМАШ 90ТГ, в частности гусеница в сборе 77.34.001, звено гусеницы 74.34.501, колесо направляющее ДТ-75 85.32.001, каретка подвески 85.31.001-1, ролик поддерживающий …

Внимание!
Сведения, размещенные на настоящем Интернет-ресурсе, носят исключительно информационный характер и не являются публичной офертой (ст. 437 Гражданского кодекса РФ). Убедительная просьба дополнительно уточнять указанные данные по электронной почте или контактным телефонам

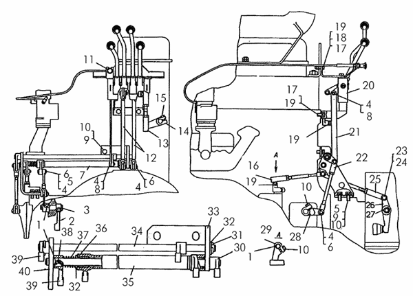
Управление дизелем с пусковым двигателем

Поз. Обозначение Наименование Входит в сборочную единицу Кол. Дополнительно
- 51-74-10СП Управление дизелем с пусковым двигателем _ 1
1 700-34-2014 Шпонка 51-74-10СП 5 Шпонки
Параметры: L=15,7, l=6,5, b=3, c1=0,25
Шпонки
2 51-74-2 Рычаг _ 1 Вес: 11.750
3 51-74-10 Валик _ 1 Вес: 0.215
4 2,5Х25 Шплинт _ 10 Шплинты
Параметры: l=25, D=4,6, l1=5, l2=2,5
Шплинты
5 31308 Шайба _ 3 Шайбы, шайбы стопорные. Пластины стопорные.
Параметры: D=21, S=2
Шайбы, шайбы стопорные. Пластины стопорные.
6 700-47-2045 Ось _ 8 Вес: 0.021
7 51-74-130СП Мостик переходной _ 1
8 700-47-2075 Ось _ 2
9 10ОТ65Г09 Шайба _ 4 Шайбы пружинные ГОСТ 6402—70
Параметры: , S=3,5, l=2,5, H=7, b=3,5
Шайбы пружинные ГОСТ 6402—70
10 М10Х30.58.019 Болт _ 7 Болты с шестигранной уменьшенной головкой ГОСТ 7796—70
Параметры: L=30, H=6, S=14, D=15,3
Болты с шестигранной уменьшенной головкой ГОСТ 7796—70
11 51-47-220СП Тяга _ 1
12 51-74-131СП Тяга _ 2
13 16-74-196СП Тяга _ 1
14 16-04-23 Рычаг _ 1
15 М10Х30.58.019 Болт _ 7 Болты с шестигранной уменьшенной головкой ГОСТ 7796—70
Параметры: L=30, H=6, S=14, D=15,3
Болты с              шестигранной уменьшенной головкой ГОСТ 7796—70
16 16-74-185СП Тяга _ 1
17 М12Х30.58.019 Болт _ 4 Болты с шестигранной уменьшенной головкой ГОСТ 7796—70
Параметры: L=30, H=7, S=17, D=18,7
Болты с              шестигранной уменьшенной головкой ГОСТ 7796—70
18 М12Х6.019 Гайка М12Х6.019 _ 2 Гайки шестигранные ГОСТ 5927—70
Параметры: H=10, S=19, D=21,1
Вес: 0.079
Гайки шестигранные ГОСТ 5927—70
19 12ОТ65Г09 Шайба _ 7 Шайбы пружинные ГОСТ 6402—70
Параметры: , S=4,0, l=3,0, H=8,0, b=4,0
Вес: 0.007
Шайбы              пружинные ГОСТ 6402—70
20 51-74-208СП Блок управления дизелем с пусковым двигателем _ 1 Вес: 8.600
21 51-74-46 Тяга _ 1
22 51-74-133СП Тяга _ 1
23 17317 Палец _ 1 Вес: 0.037
24 3,2Х25 Шплинт _ 1 Шплинты
Параметры: l=25, D=5,8, l1=6,4, l2=3,2
Шплинты
25 50-12-237СП Тяга _ 1
26 21-74-1 Рычаг _ 1
27 5Х50 Шплинт _ 1 Шплинты
Параметры: l=50, D=9,2, l1=10, l2=4
Шплинты
28 17-74-43 Рычаг _ 1 Вес: 0.214
29 51-74-74 Рычаг _ 1
30 51-74-188СП Валик 51-74-130СП 1
31 3,2Х22 Шплинт 51-74-130СП 1 Шплинты
Параметры: l=22, D=5,8, l1=6,4, l2=3,2
Шплинты
32 31484 Шайба 51-74-130СП 2 Шайбы, шайбы стопорные. Пластины стопорные.
Параметры: D=28, S=3,0
Шайбы, шайбы стопорные. Пластины стопорные.
33 51-74-136СП Кронштейн 51-74-130СП 1
34 51-74-135СП Валик 51-74-130СП 1
35 51-74-137СП Валик 51-74-130СП 1
36 700-77-84-01 Сальник 51-74-130СП 2
37 38356 Пружина 51-74-130СП 1 Пружины
Параметры: D=22,5, d=1,8, к-во вит=7,5
Пружины
38 3,2Х40 Шплинт 51-74-130СП 2 Шплинты
Параметры: l=40, D=5,8, l1=6,4, l2=3,2
Шплинты
39 51-74-7 Рычаг 51-74-130СП 2
40 51-74-50 Кронштейн 51-74-130СП 1