f83c8b32
Тел: 8-800-700-79-69
Звонок бесплатный!

Акция

НОВЫЕ ЗАВОДСКИЕ Бульдозера Б10М от 3350000 р от ДИЛЕРА!

Наличие, доставка в любой регион.

По ценам:
На Б10М.0801-5% от прайса;
На Б10М.0101-7% от прайса.

Срок акции - до 1 июля 2013 г.

Обратная связь
 

 

Консультации по технике:
Консультации по запчастям:
ВНИМАНИЕ! Подделки

Предложения о поставке техники не заводской сборки под видом новой, соответственно с заниженной стоимостью приобретения. Данная техника, как правило, собрана на старой бывшей в употреблении раме с применением ремонтных узлов и агрегатов. Несмотря на привлекательную стоимость, качество сборки и потребительские свойства такой техники зачастую очень низкие.

Своими действиями представители «серого рынка» вводят в заблуждение порядочных потребителей специальной техники производства тюнинг, поставляя товар низкого качества без обеспечения гарантийных обязательств, а также наносят непоправимый ущерб репутации Челябинского омскного завода.

Уважаемый покупатель наши специалисты готовы проконсультировать по всем вопросам связанным с подбором и приобретением нового «заводской сборки» омска или ремонта производства тюнинг.

бу аккумуляторы.

Новости
Разработка собственного дизеля ООО «тюнинг-Уралтрак»
18/04/2011

ООО «тюнинг-Уралтрак» в срок до 2016 г. организует выпуск серии дизелей серии Т. В планах по изготовлению восемь двигателей: 4 шестицилиндровых и 4 четырехцилиндровыхи по 2 восьми и двенадцатицилиндровых. Изготовление указанных двигателей тюнинг ведется в соответствии с условиями госконтракта. Данное …

Расширяем ассортимент продукции: запасные части ДТ-75 в наличии на складе г.Нижний Новгород
15/04/2011

ООО «reaktor-omsk» расширяет ассортимент продукции. На складе в г. Нижний Новгород всегда в наличии запасные части на омск ДТ-75, ДТ-75М, АГРОМАШ 90ТГ, в частности гусеница в сборе 77.34.001, звено гусеницы 74.34.501, колесо направляющее ДТ-75 85.32.001, каретка подвески 85.31.001-1, ролик поддерживающий …

Внимание!
Сведения, размещенные на настоящем Интернет-ресурсе, носят исключительно информационный характер и не являются публичной офертой (ст. 437 Гражданского кодекса РФ). Убедительная просьба дополнительно уточнять указанные данные по электронной почте или контактным телефонам

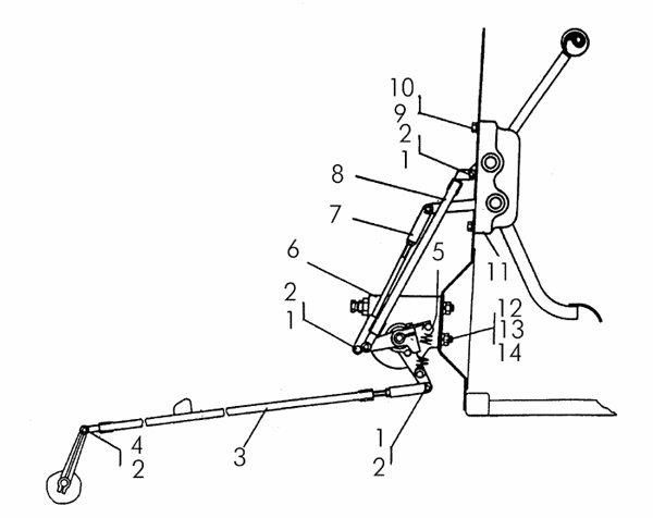
Управление топливным насосом

Поз. Обозначение Наименование Входит в сборочную единицу Кол. Дополнительно
- 50-74-9СП Управление топливным насосом _ 1
1 02226 Палец _ 5 Вес: 0.012
2 2Х25 Шплинт _ 6 Шплинты
Параметры: l=25, D=3,6, l1=4, l2=2,5
Вес: 2.200
Шплинты
3 50-74-186СП Тяга _ 1
4 06465 Валик _ 1 Вес: 0.008
5 700-38-2585 Пружина _ 1 Пружины
Параметры: D=17, d=2,5, l=8, l1=15, R=3, a0=25, к-во вит=180
Вес: 0.335
Пружины
6 50-74-184СП Акселератор _ 1
7 50-74-187СП Тяга _ 1 Вес: 0.200
8 50-74-188СП Тяга _ 1
9 М10Х25.58.019 Болт _ 4 Болты с шестигранной уменьшенной головкой ГОСТ 7796—70
Параметры: L=25, H=6, S=14, D=15,3
Болты с шестигранной уменьшенной головкой ГОСТ 7796—70
10 10ОТ65Г09 Шайба _ 4 Шайбы пружинные ГОСТ 6402—70
Параметры: , S=3,5, l=2,5, H=7, b=3,5
Шайбы пружинные ГОСТ 6402—70
11 50-74-185СП Блок управления _ 1 Вес: 2.500
12 М12Х6.019 Гайка М12Х6.019 _ 2 Гайки шестигранные ГОСТ 5927—70
Параметры: H=10, S=19, D=21,1
Вес: 0.079
Гайки шестигранные ГОСТ 5927—70
13 12ОТ65Г09 Шайба _ 2 Шайбы пружинные ГОСТ 6402—70
Параметры: , S=4,0, l=3,0, H=8,0, b=4,0
Вес: 0.007
Шайбы              пружинные ГОСТ 6402—70
14 31372 Шайба _ 2 Шайбы, шайбы стопорные. Пластины стопорные.
Параметры: D=36, S=3,0
Шайбы, шайбы стопорные. Пластины стопорные.