f83c8b32
Тел: 8-800-700-79-69
Звонок бесплатный!

Акция

НОВЫЕ ЗАВОДСКИЕ Бульдозера Б10М от 3350000 р от ДИЛЕРА!

Наличие, доставка в любой регион.

По ценам:
На Б10М.0801-5% от прайса;
На Б10М.0101-7% от прайса.

Срок акции - до 1 июля 2013 г.

Обратная связь
 

 

Консультации по технике:
Консультации по запчастям:
ВНИМАНИЕ! Подделки

Предложения о поставке техники не заводской сборки под видом новой, соответственно с заниженной стоимостью приобретения. Данная техника, как правило, собрана на старой бывшей в употреблении раме с применением ремонтных узлов и агрегатов. Несмотря на привлекательную стоимость, качество сборки и потребительские свойства такой техники зачастую очень низкие.

Своими действиями представители «серого рынка» вводят в заблуждение порядочных потребителей специальной техники производства тюнинг, поставляя товар низкого качества без обеспечения гарантийных обязательств, а также наносят непоправимый ущерб репутации Челябинского омскного завода.

Уважаемый покупатель наши специалисты готовы проконсультировать по всем вопросам связанным с подбором и приобретением нового «заводской сборки» омска или ремонта производства тюнинг.

бу аккумуляторы.

Новости
Разработка собственного дизеля ООО «тюнинг-Уралтрак»
18/04/2011

ООО «тюнинг-Уралтрак» в срок до 2016 г. организует выпуск серии дизелей серии Т. В планах по изготовлению восемь двигателей: 4 шестицилиндровых и 4 четырехцилиндровыхи по 2 восьми и двенадцатицилиндровых. Изготовление указанных двигателей тюнинг ведется в соответствии с условиями госконтракта. Данное …

Расширяем ассортимент продукции: запасные части ДТ-75 в наличии на складе г.Нижний Новгород
15/04/2011

ООО «reaktor-omsk» расширяет ассортимент продукции. На складе в г. Нижний Новгород всегда в наличии запасные части на омск ДТ-75, ДТ-75М, АГРОМАШ 90ТГ, в частности гусеница в сборе 77.34.001, звено гусеницы 74.34.501, колесо направляющее ДТ-75 85.32.001, каретка подвески 85.31.001-1, ролик поддерживающий …

Внимание!
Сведения, размещенные на настоящем Интернет-ресурсе, носят исключительно информационный характер и не являются публичной офертой (ст. 437 Гражданского кодекса РФ). Убедительная просьба дополнительно уточнять указанные данные по электронной почте или контактным телефонам

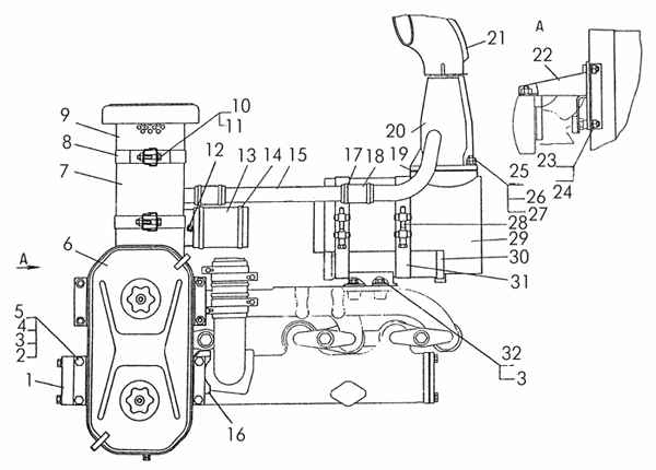
Установка агрегатов систем впуска и выпуска

Поз. Обозначение Наименование Входит в сборочную единицу Кол. Дополнительно
- 51-05-27СП Установка агрегатов систем впуска и выпуска _ 1
1 51-05-6-01 Кронштейн _ 1
2 3011 Гайка _ 4 Гайки нестандартные
Параметры: H=10, S=22, D=24,3
Гайки нестандартные
3 3135-1 Шайба _ 8 Шайбы, шайбы стопорные. Пластины стопорные.
Параметры: D=24, S=2
Шайбы, шайбы стопорные. Пластины стопорные.
4 12ОТ65Г09 Шайба _ 8 Шайбы пружинные ГОСТ 6402—70
Параметры: , S=4,0, l=3,0, H=8,0, b=4,0
Вес: 0.007
Шайбы пружинные ГОСТ 6402—70
5 М12Х30.58.019 Болт _ 4 Болты с шестигранной уменьшенной головкой ГОСТ 7796—70
Параметры: L=30, H=7, S=17, D=18,7
Болты с шестигранной уменьшенной головкой ГОСТ 7796—70
6 51-05-215СП Воздухоочиститель _ 1 Вес: 22.000
7 51-05-216СП Мультициклон _ 1 Вес: 2.460
8 51-05-322-01СП Хомут _ 2
9 51-05-205СП Воздухозаборник _ 1
10 700-28-2381 Болт _ 2 Болты нестандартные
Параметры: L=70, l0=60, H=6, h=5, S=14, D=15,3
Болты нестандартные
11 31308-1 Шайба _ 6 Шайбы, шайбы стопорные. Пластины стопорные.
Параметры: D=21, S=2
Шайбы, шайбы стопорные. Пластины стопорные.
12 132.3839600 Электрический датчик сигнализатора засоренности воздухоочистителя дизеля _ 1
13 700-40-3484 Рукав _ 1 Вес: 0.426
14 СБ3319-209-1 Хомут _ 2
15 51-05-594 Труба _ 1
16 51-05-5 Кронштейн _ 1
17 700-41-2235-17СП Хомут _ 4 Вес: 0.024
17 700-41-2235-16СП Хомут _ 4 Хомуты
Параметры: дл ленты=375
Хомуты
18 700-40-3686 Рукав _ 1 Рукава
Параметры: L=0,7, Применение=Впускной коллектор
19 700-40-2636 Прокладка _ 3 Вес: 0.054
20 51-05-378-01СП Труба выхлопная _ 1
21 51-05-143-01СП Патрубок 51-05-379СП 1
22 51-05-106СП Кронштейн _ 1
23 М12Х6.019 Гайка М12Х6.019 _ 4 Гайки шестигранные ГОСТ 5927—70
Параметры: H=10, S=19, D=21,1
Вес: 0.079
Гайки шестигранные ГОСТ 5927—70
24 12ОТ65Г09 Шайба _ 8 Шайбы пружинные ГОСТ 6402—70
Параметры: , S=4,0, l=3,0, H=8,0, b=4,0
Вес: 0.007
Шайбы пружинные ГОСТ 6402—70
25 М10Х6.019 Гайка М10Х6.019 _ 12 Гайки шестигранные ГОСТ 5915—70
Параметры: H=8, S=17, D=18,7
Гайки шестигранные ГОСТ 5915—70
26 31308-1 Шайба _ 6 Шайбы, шайбы стопорные. Пластины стопорные.
Параметры: D=21, S=2
Шайбы, шайбы стопорные. Пластины стопорные.
27 2М103p/6qХ35.
66.083
Шпилька 2М10 3p/6q х35.
66.083
_ 6
28 51-05-116СП Болт стяжной _ 2
29 51-05-192СП Глушитель _ 1 Вес: 17.100
30 51-05-247СП Кронштейн _ 1 Вес: 4.500
31 51-05-295СП Хомут _ 2 Вес: 0.360
32 М12Х25.58.019 Болт _ 4 Болты с шестигранной уменьшенной головкой ГОСТ 7796—70
Параметры: L=25, H=7, S=17, D=18,7
Болты с шестигранной уменьшенной головкой ГОСТ 7796—70