f83c8b32 реабилитация после операции на тазобедренном суставе
где взять справку на антиплагиат
Смотрите bemz.kz квгм 35 150.
Аренда стоянки для грузового транспорта также читайте.
Тел: 8-800-700-79-69
Звонок бесплатный!

Акция

НОВЫЕ ЗАВОДСКИЕ Бульдозера Б10М от 3350000 р от ДИЛЕРА!

Наличие, доставка в любой регион.

По ценам:
На Б10М.0801-5% от прайса;
На Б10М.0101-7% от прайса.

Срок акции - до 1 июля 2013 г.

Обратная связь
 

 

Консультации по технике:
Консультации по запчастям:
ВНИМАНИЕ! Подделки

Предложения о поставке техники не заводской сборки под видом новой, соответственно с заниженной стоимостью приобретения. Данная техника, как правило, собрана на старой бывшей в употреблении раме с применением ремонтных узлов и агрегатов. Несмотря на привлекательную стоимость, качество сборки и потребительские свойства такой техники зачастую очень низкие.

Своими действиями представители «серого рынка» вводят в заблуждение порядочных потребителей специальной техники производства тюнинг, поставляя товар низкого качества без обеспечения гарантийных обязательств, а также наносят непоправимый ущерб репутации Челябинского омскного завода.

Уважаемый покупатель наши специалисты готовы проконсультировать по всем вопросам связанным с подбором и приобретением нового «заводской сборки» омска или ремонта производства тюнинг.

бу аккумуляторы.

Новости
Разработка собственного дизеля ООО «тюнинг-Уралтрак»
18/04/2011

ООО «тюнинг-Уралтрак» в срок до 2016 г. организует выпуск серии дизелей серии Т. В планах по изготовлению восемь двигателей: 4 шестицилиндровых и 4 четырехцилиндровыхи по 2 восьми и двенадцатицилиндровых. Изготовление указанных двигателей тюнинг ведется в соответствии с условиями госконтракта. Данное …

Расширяем ассортимент продукции: запасные части ДТ-75 в наличии на складе г.Нижний Новгород
15/04/2011

ООО «reaktor-omsk» расширяет ассортимент продукции. На складе в г. Нижний Новгород всегда в наличии запасные части на омск ДТ-75, ДТ-75М, АГРОМАШ 90ТГ, в частности гусеница в сборе 77.34.001, звено гусеницы 74.34.501, колесо направляющее ДТ-75 85.32.001, каретка подвески 85.31.001-1, ролик поддерживающий …

Внимание!
Сведения, размещенные на настоящем Интернет-ресурсе, носят исключительно информационный характер и не являются публичной офертой (ст. 437 Гражданского кодекса РФ). Убедительная просьба дополнительно уточнять указанные данные по электронной почте или контактным телефонам

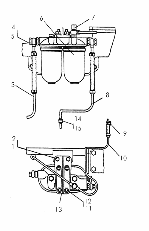
Установка фильтра тонкой очистки

Установка фильтра тонкой очистки

Поз. Обозначение Наименование Входит в сборочную единицу Кол. Дополнительно
1 12ОТ65Г09 Шайба _ 2 Шайбы пружинные ГОСТ 6402—70
Параметры: , S=4,0, l=3,0, H=8,0, b=4,0
Вес: 0.007
Шайбы пружинные ГОСТ 6402—70
2 М12Х25.58.019 Болт _ 2 Болты с шестигранной уменьшенной головкой ГОСТ 7796—70
Параметры: L=25, H=7, S=17, D=18,7
Болты с шестигранной уменьшенной головкой ГОСТ 7796—70
3 51-41-148СП Топливопровод _ 8 Вес: 0.492
4 700-41-2716 Болт _ 1
5 51-06-8 Кольцо _ 1
6 51-70-153СП Фильтр топливный _ 1 Вес: 2.500
7 51-70-136СП Клапан _ 1 Вес: 0.006
8 51-41-147СП Топливопровод _ 1 Вес: 0.479
9 700-41-2235-01СП Хомут _ 4 Хомуты
Параметры: дл ленты=150
Хомуты
10 51-41-141СП Трубка _ 1
11 351-09 Гайка _ 2
12 353-37 Пластина стопорная _ 2 Вес: 0.018
13 700-40-144СП Кронштейн _ 2
14 700-41-3598 Хомут _ 1 Вес: 0.019
15 700-40-2654 Прокладка _ 1