f83c8b32
Тел: 8-800-700-79-69
Звонок бесплатный!

Акция

НОВЫЕ ЗАВОДСКИЕ Бульдозера Б10М от 3350000 р от ДИЛЕРА!

Наличие, доставка в любой регион.

По ценам:
На Б10М.0801-5% от прайса;
На Б10М.0101-7% от прайса.

Срок акции - до 1 июля 2013 г.

Обратная связь
 

 

Консультации по технике:
Консультации по запчастям:
ВНИМАНИЕ! Подделки

Предложения о поставке техники не заводской сборки под видом новой, соответственно с заниженной стоимостью приобретения. Данная техника, как правило, собрана на старой бывшей в употреблении раме с применением ремонтных узлов и агрегатов. Несмотря на привлекательную стоимость, качество сборки и потребительские свойства такой техники зачастую очень низкие.

Своими действиями представители «серого рынка» вводят в заблуждение порядочных потребителей специальной техники производства тюнинг, поставляя товар низкого качества без обеспечения гарантийных обязательств, а также наносят непоправимый ущерб репутации Челябинского омскного завода.

Уважаемый покупатель наши специалисты готовы проконсультировать по всем вопросам связанным с подбором и приобретением нового «заводской сборки» омска или ремонта производства тюнинг.

бу аккумуляторы.

Новости
Разработка собственного дизеля ООО «тюнинг-Уралтрак»
18/04/2011

ООО «тюнинг-Уралтрак» в срок до 2016 г. организует выпуск серии дизелей серии Т. В планах по изготовлению восемь двигателей: 4 шестицилиндровых и 4 четырехцилиндровыхи по 2 восьми и двенадцатицилиндровых. Изготовление указанных двигателей тюнинг ведется в соответствии с условиями госконтракта. Данное …

Расширяем ассортимент продукции: запасные части ДТ-75 в наличии на складе г.Нижний Новгород
15/04/2011

ООО «reaktor-omsk» расширяет ассортимент продукции. На складе в г. Нижний Новгород всегда в наличии запасные части на омск ДТ-75, ДТ-75М, АГРОМАШ 90ТГ, в частности гусеница в сборе 77.34.001, звено гусеницы 74.34.501, колесо направляющее ДТ-75 85.32.001, каретка подвески 85.31.001-1, ролик поддерживающий …

Внимание!
Сведения, размещенные на настоящем Интернет-ресурсе, носят исключительно информационный характер и не являются публичной офертой (ст. 437 Гражданского кодекса РФ). Убедительная просьба дополнительно уточнять указанные данные по электронной почте или контактным телефонам

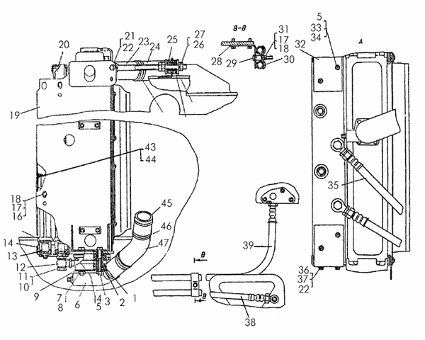
Установка радиатора

Поз. Обозначение Наименование Входит в сборочную единицу Кол. Дополнительно
- 50-309-01СП Установка радиаторов _ 1 Вес: 144.000
- 50-26-485-09СП Рукав 16 _ 1 Вес: 1.870
- SGT50-70/9 Хомут червячный фирмы «Норма» _ 2
- SGT70-90/9 Хомут червячный фирмы «Норма» _ 4
- 50-26-485-11СП Рукав 16 _ 1 Вес: 2.369
1 700-40-4923 Амортизатор _ 4
2 24-08-169 Втулка _ 4 Вес: 0.050
3 24-08-189СП Накладка _ 2
4 М8Х30.88.35.019 Болт М8х30.88. 35.019 _ 4
5 8Т65Г09 Шайба _ 8 Шайбы пружинные ГОСТ 6402—70
Параметры: , S=2,5, l=1,9, H=5, b=2,5
Шайбы пружинные ГОСТ 6402—70
6 24-08-177СП Кран _ 1 Вес: 3.105
7 16ОТ65Г09 Шайба _ 4 Шайбы пружинные ГОСТ 6402—70
Параметры: , S=5,0, l=3,7, H=10,0, b=5,0
Шайбы пружинные ГОСТ 6402—70
8 3013 Гайка _ 4 Гайки нестандартные
Параметры: H=13, S=27, D=29,9
Гайки нестандартные
9 24-08-168 Накладка _ 2 Вес: 0.167
10 40910 Кольцо _ 4 Вес: 0.003
11 700-41-3306 Болт полый _ 2
12 50-56-109СП Угольник _ 2 Вес: 0.230
13 700-40-8119-01 Амортизатор _ 4
14 50-08-159СП Днище _ 1
15 50-09-151-01СП Радиатор масляный _ 1 Вес: 4.900
16 М10Х20.58.019 Болт _ 4 Болты с шестигранной уменьшенной головкой ГОСТ 7796—70
Параметры: L=20, H=6, S=14, D=15,3
Болты с шестигранной уменьшенной головкой ГОСТ 7796—70
17 10ОТ65Г09 Шайба _ 7 Шайбы пружинные ГОСТ 6402—70
Параметры: , S=3,5, l=2,5, H=7, b=3,5
Шайбы пружинные ГОСТ 6402—70
18 31306 Шайба _ 5
19 50-08-156-01СП Радиатор в сборе с рамой _ 1
20 50-09-151СП Радиатор масляный _ 1 Вес: 19.600
21 М12Х6.019 Гайка М12Х6.019 _ 2 Гайки шестигранные ГОСТ 5927—70
Параметры: H=10, S=19, D=21,1
Вес: 0.079
Гайки шестигранные ГОСТ 5927—70
22 12ОТ65Г09 Шайба _ 6 Шайбы пружинные ГОСТ 6402—70
Параметры: , S=4,0, l=3,0, H=8,0, b=4,0
Вес: 0.007
Шайбы пружинные ГОСТ 6402—70
23 50-08-130СП Раскос _ 2
24 700-46-2041 Рукав _ 1 Рукава
Параметры: L=0,28, Применение=Система охлаждения
Вес: 0.319
25 24-08-157 Втулка _ 2
26 М18Х1,5-6.019 Гайка _ 6 Гайки шестигранные ГОСТ 5915—70
Параметры: H=15, S=27, D=29,9
Гайки шестигранные ГОСТ 5915—70
27 18ОТ65Г09 Шайба _ 2 Шайбы пружинные ГОСТ 6402—70
Параметры: , S=5,5, l=4,0, H=11,0, b=5,5
Шайбы пружинные ГОСТ 6402—70
28 50-09-138СП Кронштейн _ 1
29 50-26-115 Втулка _ 1
30 50-60-230 Прижим _ 1
31 М10Х6.019 Гайка М10Х6.019 _ 1 Гайки шестигранные ГОСТ 5915—70
Параметры: H=8, S=17, D=18,7
Гайки шестигранные ГОСТ 5915—70
32 50-08-108 Опора _ 2
33 М8Х6.019 Гайка М8Х6.019 _ 4 Гайки шестигранные ГОСТ 5915—70
Параметры: H=6,5, S=13, D=14,2
Гайки шестигранные ГОСТ 5915—70
34 31386 Шайба _ 4 Шайбы, шайбы стопорные. Пластины стопорные.
Параметры: D=17,5, S=1,6
Вес: 0.002
Шайбы, шайбы стопорные. Пластины стопорные.
35 51-09-251 Фланец _ 1
36 700-40-5650 Прокладка _ 1
37 3135 Шайба _ 4 Шайбы, шайбы стопорные. Пластины стопорные.
Параметры: D=24, S=2
Шайбы, шайбы стопорные. Пластины стопорные.
38 50-26-485-08СП Рукав 16 _ 1 Вес: 1.870
39 50-26-485-10СП Рукав 16 _ 1 Вес: 2.369
40 24-08-154 Тарелка _ 4
41 700-40-4428 Втулка _ 4
42 37-26-139СП Хомут _ 2 Вес: 0.075
43 50-08-135СП Крышка _ 2
43 М12Х25.58.019 Болт _ 4 Болты с шестигранной уменьшенной головкой ГОСТ 7796—70
Параметры: L=25, H=7, S=17, D=18,7
Болты с шестигранной уменьшенной головкой ГОСТ 7796—70
44 700-40-8118-01 Уплотнение _ 2
45 700-40-3503 Рукав _ 2 Рукава
Параметры: L=0,15, Применение=Система охлаждения
Вес: 0.246
46 700-41-2222СП Хомут или хомут червячный SGT 70-90/9 фирмы «Норма», ФРГ _ 4
47 50-08-52 Патрубок _ 1