f83c8b32
Тел: 8-800-700-79-69
Звонок бесплатный!

Акция

НОВЫЕ ЗАВОДСКИЕ Бульдозера Б10М от 3350000 р от ДИЛЕРА!

Наличие, доставка в любой регион.

По ценам:
На Б10М.0801-5% от прайса;
На Б10М.0101-7% от прайса.

Срок акции - до 1 июля 2013 г.

Обратная связь
 

 

Консультации по технике:
Консультации по запчастям:
ВНИМАНИЕ! Подделки

Предложения о поставке техники не заводской сборки под видом новой, соответственно с заниженной стоимостью приобретения. Данная техника, как правило, собрана на старой бывшей в употреблении раме с применением ремонтных узлов и агрегатов. Несмотря на привлекательную стоимость, качество сборки и потребительские свойства такой техники зачастую очень низкие.

Своими действиями представители «серого рынка» вводят в заблуждение порядочных потребителей специальной техники производства тюнинг, поставляя товар низкого качества без обеспечения гарантийных обязательств, а также наносят непоправимый ущерб репутации Челябинского омскного завода.

Уважаемый покупатель наши специалисты готовы проконсультировать по всем вопросам связанным с подбором и приобретением нового «заводской сборки» омска или ремонта производства тюнинг.

бу аккумуляторы.

Новости
Разработка собственного дизеля ООО «тюнинг-Уралтрак»
18/04/2011

ООО «тюнинг-Уралтрак» в срок до 2016 г. организует выпуск серии дизелей серии Т. В планах по изготовлению восемь двигателей: 4 шестицилиндровых и 4 четырехцилиндровыхи по 2 восьми и двенадцатицилиндровых. Изготовление указанных двигателей тюнинг ведется в соответствии с условиями госконтракта. Данное …

Расширяем ассортимент продукции: запасные части ДТ-75 в наличии на складе г.Нижний Новгород
15/04/2011

ООО «reaktor-omsk» расширяет ассортимент продукции. На складе в г. Нижний Новгород всегда в наличии запасные части на омск ДТ-75, ДТ-75М, АГРОМАШ 90ТГ, в частности гусеница в сборе 77.34.001, звено гусеницы 74.34.501, колесо направляющее ДТ-75 85.32.001, каретка подвески 85.31.001-1, ролик поддерживающий …

Внимание!
Сведения, размещенные на настоящем Интернет-ресурсе, носят исключительно информационный характер и не являются публичной офертой (ст. 437 Гражданского кодекса РФ). Убедительная просьба дополнительно уточнять указанные данные по электронной почте или контактным телефонам

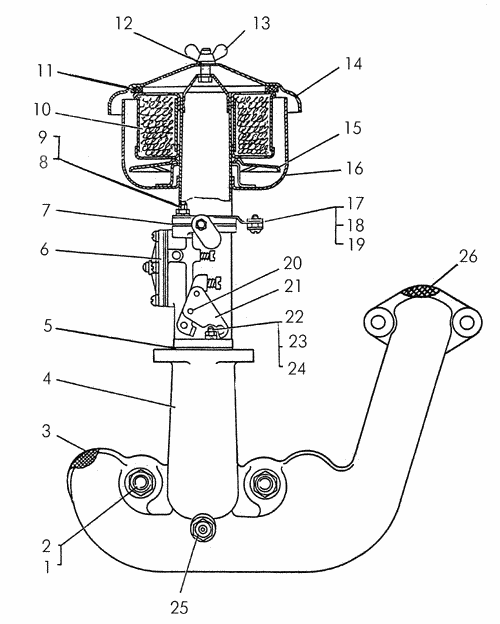
Установка воздухоочистителя пускового двигателя

Поз. Обозначение Наименование Входит в сборочную единицу Кол. Дополнительно
- 17-05-21СП Установка воздухоочистителя _ 1
- 17-05-185СП Карбюратор _ 1
- 17-05-184СП Воздухоочиститель _ 1 Вес: 1.136
- 17-05-182СП Кронштейн _ 1
1 3011-7 Гайка _ 2 Гайки нестандартные
Параметры: H=10, S=22, D=24,3
Гайки нестандартные
2 2996 Шпилька _ 2 Шпильки
Параметры: Резьба2=М12-6g, L=55, l0=20, l1=15, d=12
Вес: 0.550
Шпильки
3 700-40-2049 Прокладка _ 1
4 17-05-174 Коллектор _ 1 Вес: 5.559
5 700-40-8152 Прокладка _ 1 Вес: 0.001
6 11.1107011 Карбюратор
11.1107011
_ 1 Вес: 1.100
7 700-40-8153 Прокладка _ 1
8 М6Х6.019 Гайка М6Х6.019 _ 2 Гайки шестигранные ГОСТ 5927—70
Параметры: H=5, S=10, D=11
Вес: 0.007
Гайки шестигранные ГОСТ 5927—70
9 6Т65Г09 Шайба _ 2 Шайбы пружинные ГОСТ 6402—70
Параметры: , S=2, l=1,5, H=4, b=2
Шайбы пружинные ГОСТ 6402—70
10 17-05-176СП Кассета 17-05-184СП 1
11 40796 Кольцо 17-05-184СП 1
12 31386 Шайба 17-05-184СП 1 Шайбы, шайбы стопорные. Пластины стопорные.
Параметры: D=17,5, S=1,6
Вес: 0.002
Шайбы, шайбы стопорные. Пластины стопорные.
13 05573-1-01 Гайка 17-05-184СП 1
14 17-05-149 Крышка 17-05-184СП 1 Вес: 0.152
15 17-05-134 Маслоотражатель 17-05-184СП 1
16 17-05-186СП Поддон 17-05-184СП 1
17 17-05-166 Кронштейн 17-05-182СП 1
18 17-05-167 Накладка 17-05-182СП 1
19 В.М4-6qХ
12.58.016
Винт
В.М4-6qх12.58.016
17-05-182СП 1
20 3Х10.27 Заклепка 3х10.27 17-05-185СП 2
21 17-05-172 Накладка 17-05-185СП 1
22 М8Х1.6.019 Гайка М8х1.6.019 _ 2 Гайки шестигранные ГОСТ 5927—70
Параметры: H=6,5, S=13, D=14,4
Гайки шестигранные ГОСТ 5927—70
23 8Т65Г09 Шайба _ 2 Шайбы пружинные ГОСТ 6402—70
Параметры: , S=2,5, l=1,9, H=5, b=2,5
Шайбы пружинные ГОСТ 6402—70
24 2М8Х1,25-3p/
1-6gХ18.66.016
Шпилька 2М8х1,25-3p/
1-6gх18.66.016
_ 2
25 17-05-180СП Фильтр _ 1 Вес: 0.014
26 46238 Прокладка _ 1 Вес: 0.010