f83c8b32
Тел: 8-800-700-79-69
Звонок бесплатный!

Акция

НОВЫЕ ЗАВОДСКИЕ Бульдозера Б10М от 3350000 р от ДИЛЕРА!

Наличие, доставка в любой регион.

По ценам:
На Б10М.0801-5% от прайса;
На Б10М.0101-7% от прайса.

Срок акции - до 1 июля 2013 г.

Обратная связь
 

 

Консультации по технике:
Консультации по запчастям:
ВНИМАНИЕ! Подделки

Предложения о поставке техники не заводской сборки под видом новой, соответственно с заниженной стоимостью приобретения. Данная техника, как правило, собрана на старой бывшей в употреблении раме с применением ремонтных узлов и агрегатов. Несмотря на привлекательную стоимость, качество сборки и потребительские свойства такой техники зачастую очень низкие.

Своими действиями представители «серого рынка» вводят в заблуждение порядочных потребителей специальной техники производства тюнинг, поставляя товар низкого качества без обеспечения гарантийных обязательств, а также наносят непоправимый ущерб репутации Челябинского омскного завода.

Уважаемый покупатель наши специалисты готовы проконсультировать по всем вопросам связанным с подбором и приобретением нового «заводской сборки» омска или ремонта производства тюнинг.

бу аккумуляторы.

Новости
Разработка собственного дизеля ООО «тюнинг-Уралтрак»
18/04/2011

ООО «тюнинг-Уралтрак» в срок до 2016 г. организует выпуск серии дизелей серии Т. В планах по изготовлению восемь двигателей: 4 шестицилиндровых и 4 четырехцилиндровыхи по 2 восьми и двенадцатицилиндровых. Изготовление указанных двигателей тюнинг ведется в соответствии с условиями госконтракта. Данное …

Расширяем ассортимент продукции: запасные части ДТ-75 в наличии на складе г.Нижний Новгород
15/04/2011

ООО «reaktor-omsk» расширяет ассортимент продукции. На складе в г. Нижний Новгород всегда в наличии запасные части на омск ДТ-75, ДТ-75М, АГРОМАШ 90ТГ, в частности гусеница в сборе 77.34.001, звено гусеницы 74.34.501, колесо направляющее ДТ-75 85.32.001, каретка подвески 85.31.001-1, ролик поддерживающий …

Внимание!
Сведения, размещенные на настоящем Интернет-ресурсе, носят исключительно информационный характер и не являются публичной офертой (ст. 437 Гражданского кодекса РФ). Убедительная просьба дополнительно уточнять указанные данные по электронной почте или контактным телефонам

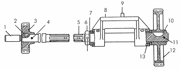
Валики привода масляного насоса

Поз. Обозначение Наименование Входит в сборочную единицу Кол. Дополнительно
- 51-09-132СП Валик 51097СП 1
- 51-66-106СП Валик 51-09-226СП 1
- 5Х40.00 Заклепка 5х40.00 51-09-226СП 1
- 51-09-227СП Кронштейн 51-09-226СП 1
- 51-09-226СП Валик 510911СП 1
- 51-09-226СП Валик 51099СП 1
- 51-09-132СП Валик 510911СП 1
- 51-09-132СП Валик 510910СП 1
- 51-09-132СП Валик 51099СП 1
1 51-09-105 Валик 51-09-132СП 1
2 700-34-2040 Шпонка 51-09-132СП 1 Шпонки
Параметры: L=21,6, l=9, b=6, c1=0,4
Шпонки
3 51-09-53 Шестерня 51-09-132СП 1 Вес: 0.977
4 700-32-2185 Штифт 51-09-132СП 1 Штифты
Параметры: l=38
Штифты
5 51-66-22 Валик 51-66-106СП 1 Вес: 1.159
6 700-30-2339 Гайка 51-09-226СП 1 Гайки нестандартные
Параметры: H=15, S=36, D=40,4, h=0,7, d1=36
Гайки нестандартные
7 51-66-30 Кольцо 51-09-226СП 1
8 51-09-202 Кронштейн 51-09-227СП 1
9 700-32-2198 Штифт 51-09-226СП 2 Штифты
Параметры: l=20, h1=1,6, R=25
Штифты
10 700-34-2051 Шпонка 51-66-106СП 1 Шпонки
Параметры: L=27,3, l=11, b=8, c1=0,4
Шпонки
11 5Х40.00 Заклепка 5х40.00 51-66-106СП 1
12 51-66-23 Шестерня 51-66-106СП 1 Вес: 2.369
13 51-66-19 Втулка 51-09-227СП 2
14 700-32-2186 Штифт 51-66-106СП 1 Штифты
Параметры: l=48
Штифты